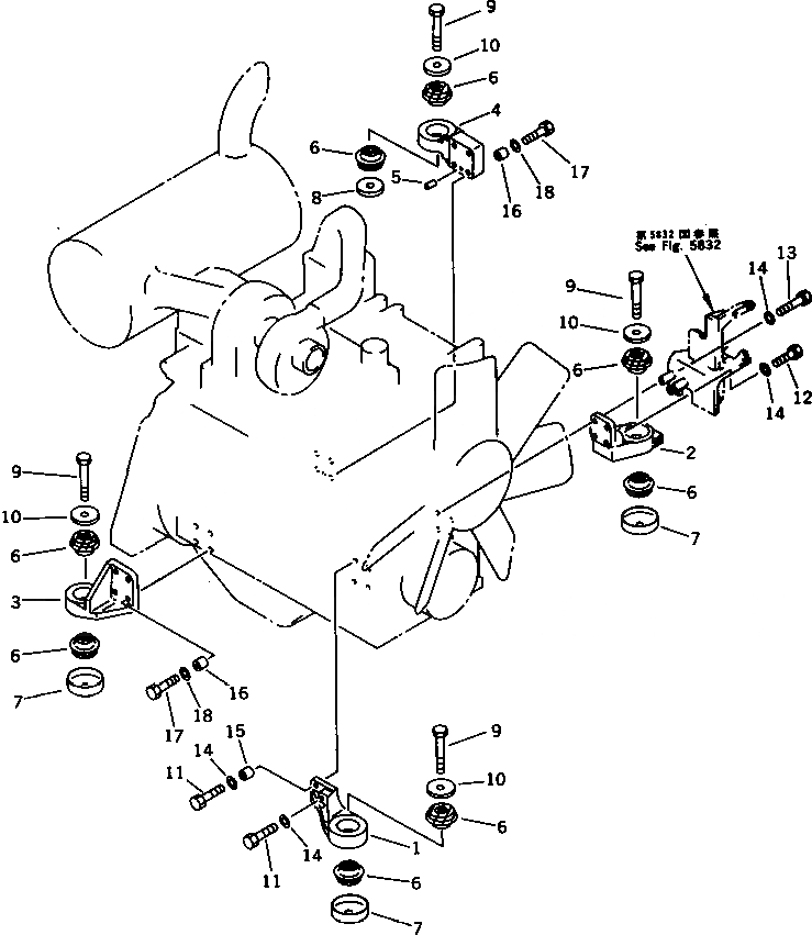
Запчасти Komatsu PC120-5X КРЕПЛЕНИЕ ДВИГАТЕЛЯ КОМПОНЕНТЫ ДВИГАТЕЛЯ И ЭЛЕКТРИКА

Схема запчастей Komatsu PC120-5X - КРЕПЛЕНИЕ ДВИГАТЕЛЯ КОМПОНЕНТЫ ДВИГАТЕЛЯ И ЭЛЕКТРИКА
FIT
1:1
100%

Артикул

Название

Примечание

Количество

1

20X-01-22211

BRACKET

2

203-01-56170

BRACKET

3

203-01-56120

BRACKET

4

203-01-56111

BRACKET

5

04020-01228

PIN,DOWEL

6

103-01-31130

CUSHION

7

20X-01-22170

STOPPER

8

21W-01-15130

WASHER

9

01011-51620

BOLT

10

113-01-21120

WASHER

11

21W-01-15140

BOLT

12

203-01-56210

BOLT

13

203-978-5350

BOLT

14

01643-31032

WASHER

15

144-874-7470

BOSS

16

6131-22-3750

BOSS

17

21W-01-15150

BOLT

18

01643-31232

WASHER

Выбрано товаров: 18