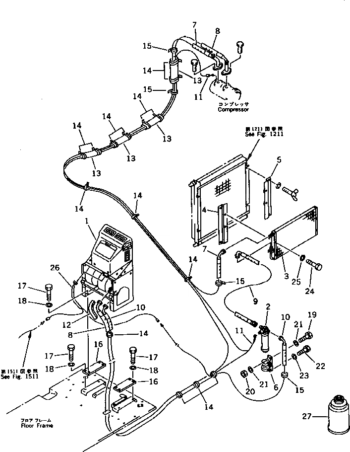
Запчасти Komatsu PC120-5X CAR ОХЛАДИТЕЛЬ И ТРУБЫ ЧАСТИ КОРПУСА

Схема запчастей Komatsu PC120-5X - CAR ОХЛАДИТЕЛЬ И ТРУБЫ ЧАСТИ КОРПУСА
FIT
1:1
100%

Артикул

Название

Примечание

Количество

1

20Y-978-1100

COOLER ASS'Y

2

203-978-5550

RECEIVER

3

203-978-5480

CONDENSER

4

203-978-5410

BRACKET

5

203-978-5420

BRACKET

6

203-978-5430

BRACKET

7

203-978-5440

HOSE

8

203-978-5450

HOSE

9

203-978-5460

HOSE

10

203-978-5470

HOSE

11

203-978-5490

WIRE

12

203-978-5510

TAPE

13

203-62-41150

COVER

14

08034-00519

BAND

15

08034-00536

BAND

16

203-978-5560

PLATE

17

01010-51230

BOLT

18

01643-31232

WASHER

19

01010-50820

BOLT

20

01580-10806

NUT

21

01643-30823

WASHER

22

01010-50616

BOLT

23

01643-30623

WASHER

24

01010-50635

BOLT

25

01643-30623

WASHER

26

203-978-5530

WIRE ASS'Y

27

566-07-11620

GAS

Выбрано товаров: 27