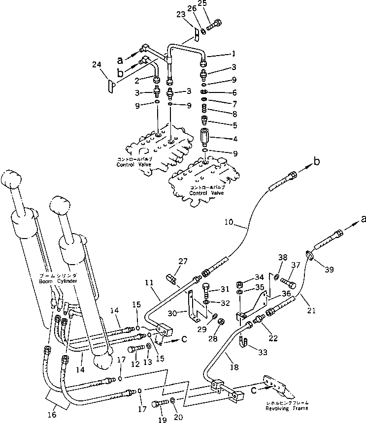
Запчасти Komatsu PC120-5Z ГИДРОЛИНИЯ (ЦИЛИНДР СТРЕЛЫ) УПРАВЛ-Е РАБОЧИМ ОБОРУДОВАНИЕМ

Схема запчастей Komatsu PC120-5Z - ГИДРОЛИНИЯ (ЦИЛИНДР СТРЕЛЫ) УПРАВЛ-Е РАБОЧИМ ОБОРУДОВАНИЕМ
FIT
1:1
100%

Артикул

Название

Примечание

Количество

1

202-62-61130

TUBE

2

203-62-57480

TUBE

3

07230-20522

UNION

4

203-62-56580

BLOCK

5

203-60-21250

POPPET

6

04065-02212

RING,SNAP

7

203-60-21270

SEAT

8

203-60-21260

SPRING

9

07002-12434

O-RING

10

07096-00408

HOSE

11

203-62-56532

TUBE

12

01010-51025

BOLT

13

01643-31032

WASHER

14

203-62-57621

HOSE

15

07002-12034

O-RING

16

203-62-57611

HOSE

17

07002-12434

O-RING

18

203-62-56482

TUBE

19

01010-51025

BOLT

20

01643-31032

WASHER

21

07096-00509

HOSE

22

202-62-61120

NIPPLE

23

203-62-58620

PLATE

24

203-62-58630

CLAMP

25

01010-51225

BOLT

26

01643-31232

WASHER

27

07283-22236

CLIP

28

01599-01011

NUT

29

01643-31032

WASHER

30

203-62-56930

PLATE

31

01010-51020

BOLT

32

01643-31032

WASHER

33

07283-22236

CLIP

34

01599-01011

NUT

35

01643-31032

WASHER

36

202-62-61110

BRACKET

37

01010-51020

BOLT

38

01643-31032

WASHER

39

08034-00823

BAND

Выбрано товаров: 0