Запчасти Komatsu PC120-5Z ЦИЛИНДР СТРЕЛЫ РАБОЧЕЕ ОБОРУДОВАНИЕ

Схема запчастей Komatsu PC120-5Z - ЦИЛИНДР СТРЕЛЫ РАБОЧЕЕ ОБОРУДОВАНИЕ
FIT
1:1
100%

Артикул

Название

Примечание

Количество

|1

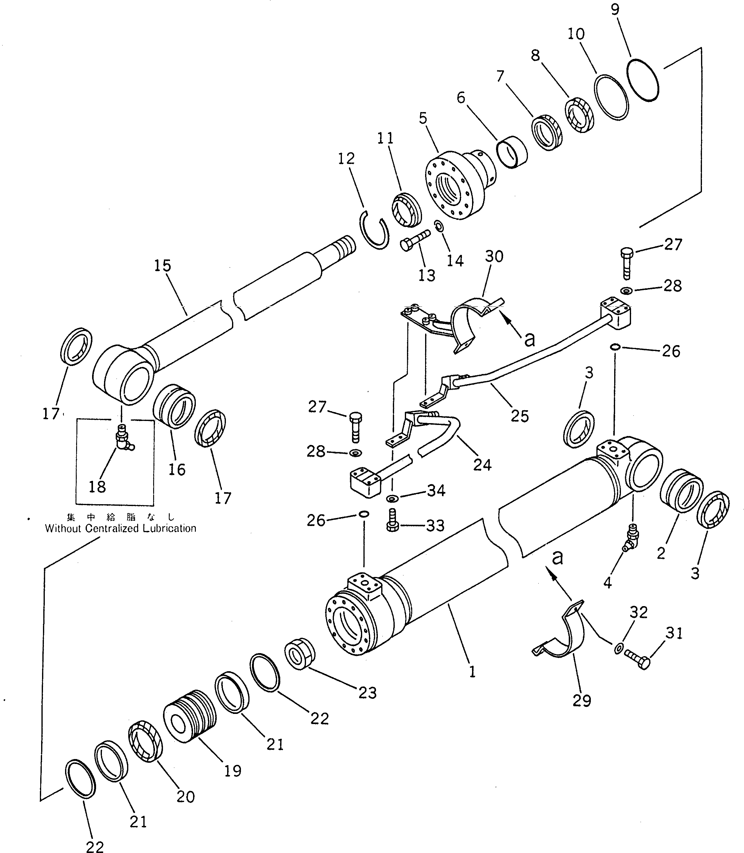
203-63-02100

CYLINDER ASS'Y,BOOM

1

203-63-54340

CYLINDER

2

707-76-70230

BUSHING

3

07145-00070

SEAL,DUST (KIT)

4

07020-00675

FITTING,GREASE

5

707-27-10670

HEAD,CYLINDER

6

707-52-90450

BUSHING

7

707-51-70030

PACKING,ROD (KIT)

8

707-51-70630

RING,BUFFER (KIT)

9

07000-15100

O-RING (KIT)

10

07001-05100

RING,BACK-UP (KIT)

11

144-63-95170

SEAL,DUST (KIT)

12

07179-12084

RING,SNAP

13

01010-81465

BOLT

14

705-17-04980

WASHER

15

203-63-54320

ROD

16

707-76-70230

BUSHING

17

07145-00070

SEAL,DUST (KIT)

18

07020-00675

FITTING,GREASE

19

707-36-10510

PISTON

20

707-44-10280

RING,PISTON (KIT)

21

707-39-10520

RING,WEAR (KIT)

22

707-44-10911

RING

23

07165-15252

NUT,NYLON

24

203-63-54370

TUBE,L.H.

|24

203-63-54470

TUBE,R.H.

25

202-63-54380

TUBE,L.H.

|25

202-63-54480

TUBE,R.H.

26

07000-13025

O-RING (KIT)

27

01010-50850

BOLT

28

01643-50823

WASHER

29

707-88-96971

BAND

30

707-88-95491

BRACKET

31

01010-51035

BOLT

32

01643-51032

WASHER

33

01010-51030

BOLT

34

01643-31032

WASHER

K

707-98-37620

SERVICE KIT

|35

07145-00070

SEAL,DUST

|35

707-51-70030

PACKING,ROD

|35

707-51-70630

RING,BUFFER

|35

07000-15100

O-RING

|35

07001-05100

RING,BACK-UP

|35

144-63-95170

SEAL,DUST

|35

07145-00070

SEAL,DUST

|35

707-44-10280

RING,PISTON

|35

707-39-10520

RING,WEAR

|35

07000-13025

O-RING

Выбрано товаров: 48