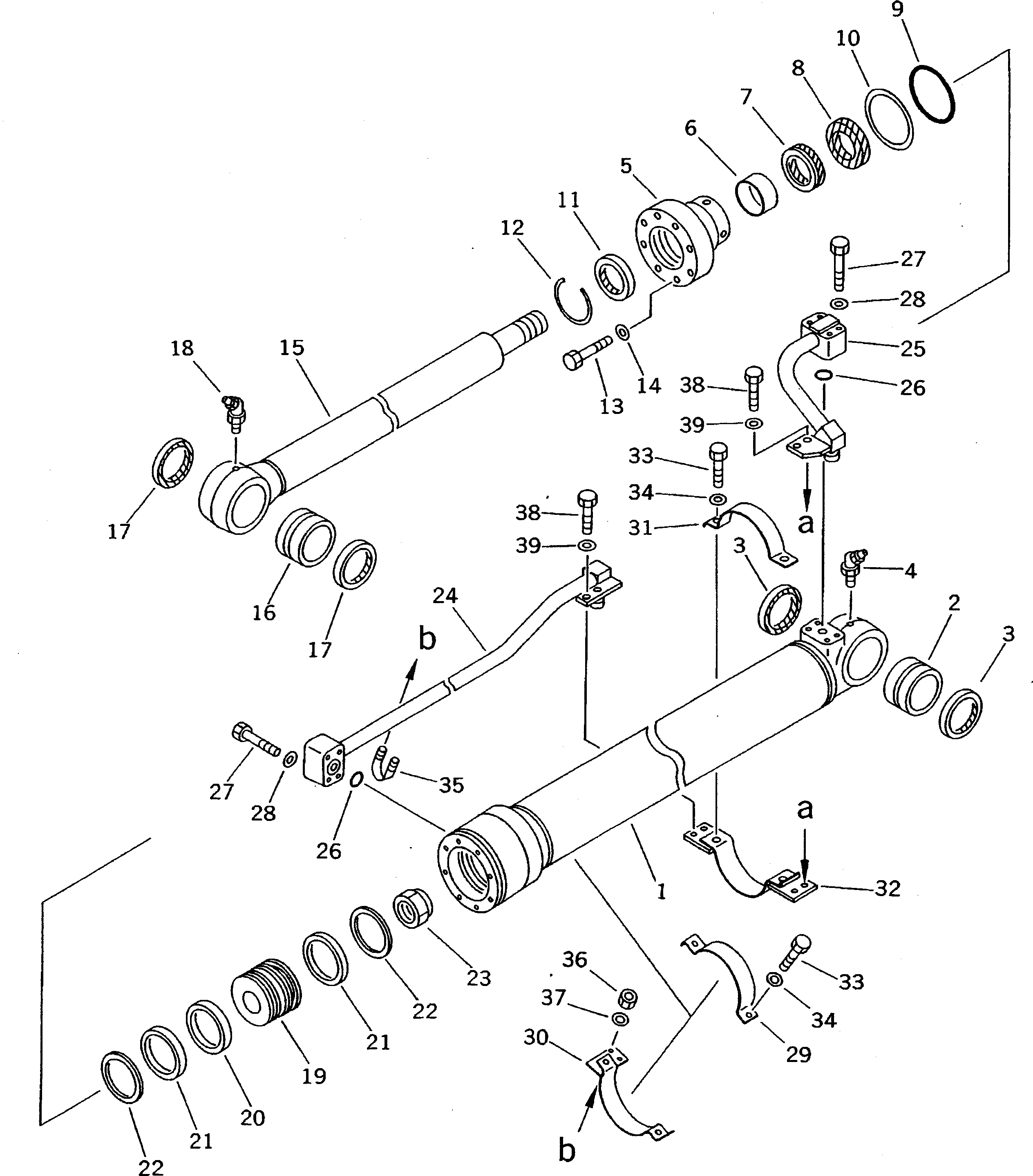
Запчасти Komatsu PC120-5Z ЦИЛИНДР КОВША РАБОЧЕЕ ОБОРУДОВАНИЕ

Схема запчастей Komatsu PC120-5Z - ЦИЛИНДР КОВША РАБОЧЕЕ ОБОРУДОВАНИЕ
FIT
1:1
100%

Артикул

Название

Примечание

Количество

|1

203-63-02130

CYLINDER ASS'Y,BUCKET

1

203-63-74340

CYLINDER

2

707-76-65210

BUSHING

3

07145-00065

SEAL,DUST (KIT)

4

07020-00675

FITTING,GREASE

5

707-27-95620

HEAD,CYLINDER

6

707-52-90400

BUSHING

7

707-51-65030

PACKING,ROD (KIT)

8

707-51-65630

RING,BUFFER (KIT)

9

07000-15090

O-RING (KIT)

10

07001-05090

RING,BACK-UP (KIT)

11

144-63-92170

SEAL,DUST (KIT)

12

07179-12079

RING,SNAP

13

01010-81465

BOLT

14

705-17-04980

WASHER

15

203-63-74320

ROD

16

707-76-65220

BUSHING

17

707-77-65110

SEAL,DUST (KIT)

18

07020-00675

FITTING,GREASE

19

707-36-95410

PISTON

20

707-44-95180

RING,PISTON (KIT)

21

707-39-95120

RING,WEAR (KIT)

22

707-44-95911

RING

23

07165-14547

NUT,NYLON

24

202-63-74371

TUBE

25

202-63-74381

TUBE

26

07000-13025

O-RING (KIT)

27

01010-50850

BOLT

28

01643-50823

WASHER

29

707-88-96250

BAND

30

707-88-95531

BRACKET

31

707-88-96250

BAND

32

202-63-74390

BRACKET

33

01010-51035

BOLT

34

01643-51032

WASHER

35

07283-22236

CLIP

36

01599-01011

NUT

37

01643-31032

WASHER

38

01010-51025

BOLT

39

01643-31032

WASHER

K

707-98-36210

SERVICE KIT

|40

07145-00065

SEAL,DUST

|40

707-51-65030

PACKING,ROD

|40

707-51-65630

RING,BUFFER

|40

07000-15090

O-RING

|40

07001-05090

RING,BACK-UP

|40

144-63-92170

SEAL,DUST

|40

707-77-65110

SEAL,DUST

|40

707-44-95180

RING,PISTON

|40

707-39-95120

RING,WEAR

|40

07000-13025

O-RING

Выбрано товаров: 51