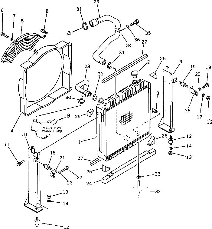
Запчасти Komatsu PC120-5Z РАДИАТОР И ТРУБЫ КОМПОНЕНТЫ ДВИГАТЕЛЯ И ЭЛЕКТРИКА

Схема запчастей Komatsu PC120-5Z - РАДИАТОР И ТРУБЫ КОМПОНЕНТЫ ДВИГАТЕЛЯ И ЭЛЕКТРИКА
FIT
1:1
100%

Артикул

Название

Примечание

Количество

1

203-03-56360

RADIATOR ASS'Y

2

201-03-51310

CAP

3

205-03-62660

PLUG

|3

07000-01007

O-RING

4

203-03-56171

SHROUD

5

203-03-56320

GUARD

6

01010-51025

BOLT

7

01643-31032

WASHER

8

01435-20814

BOLT

9

203-03-56160

SUPPORT

10

203-03-56150

SUPPORT

11

01435-20816

BOLT

12

203-03-56330

CUSHION

13

01580-11008

NUT

14

01643-31032

WASHER

15

203-03-56340

CUSHION

16

01580-10806

NUT

17

01643-30823

WASHER

18

203-03-56260

PLATE

19

01010-51020

BOLT

20

01643-31032

WASHER

21

203-03-56270

PLATE

22

01010-51025

BOLT

23

01643-31032

WASHER

24

203-03-56210

SHEET

25

203-03-56240

SHEET

26

203-03-56230

SHEET

27

203-03-41530

SHEET

28

203-03-56180

HOSE

29

203-978-5340

HOSE

30

207-09-11110

CLAMP

31

208-09-11110

CLAMP

32

203-03-56350

HOSE

33

07280-01010

CLAMP

34

21K-03-11190

CLIP

35

01010-51020

BOLT

36

01643-31032

WASHER

Выбрано товаров: 37