Запчасти Komatsu PC120-5Z ОСНОВН. КОНСТРУКЦИЯ ЧАСТИ КОРПУСА

Схема запчастей Komatsu PC120-5Z - ОСНОВН. КОНСТРУКЦИЯ ЧАСТИ КОРПУСА
FIT
1:1
100%

Артикул

Название

Примечание

Количество

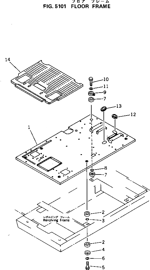
1

203-54-57640

FRAME,FLOOR

|1

203-973-5250

FRAME¤ FLOOR,(2-ACT.ATT.AND CRUS¤OTHER ATT)

2

203-54-21110

CUSHION

3

07000-03025

O-RING

4

201-54-21860

COLLAR

5

01010-51675

BOLT

6

01643-31645

WASHER

7

203-54-21110

CUSHION

8

07000-03025

O-RING

9

203-54-56860

COLLAR

10

01010-51675

BOLT

11

01643-31645

WASHER

12

176-911-4160

GROMMET

13

566-54-11340

GROMMET

14

203-54-58460

MAT,FLOOR

|14

20Y-54-16541

MAT,FLOOR

|14

203-54-58510

MAT,FLOOR (1-ACTATER ATTACHMENT)

|14

203-973-5360

MAT,FLOOR (1-ACTATER ATTACHMENT)

|14

203-54-58520

MAT,FLOOR (2-ACTATER ATTACHMENT)

|14

203-973-5420

MAT,FLOOR (2-ACTATER ATTACHMENT)

Выбрано товаров: 20