Запчасти Komatsu PC120-5Z MAGAZINE КОРПУС ЧАСТИ КОРПУСА

Схема запчастей Komatsu PC120-5Z - MAGAZINE КОРПУС ЧАСТИ КОРПУСА
FIT
1:1
100%

Артикул

Название

Примечание

Количество

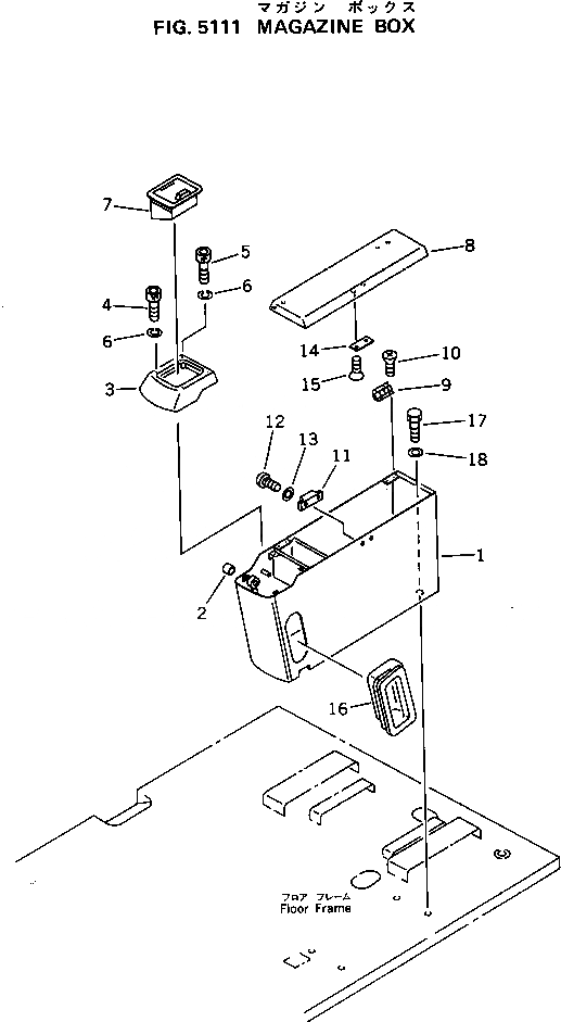
1

203-54-56123

COVER

2

09350-01620

BUSHING

3

203-54-51341

COVER

4

203-54-56260

BOLT

5

203-54-56250

BOLT

6

01601-20513

WASHER,SPRING

7

20G-54-13420

ASHTRAY

8

203-54-51350

COVER

9

203-54-51380

HINGE

10

01224-40306

SCREW

11

203-54-56830

CATCHER

12

01224-40308

SCREW

13

01641-20305

WASHER

14

203-54-51550

PLATE

15

01224-40306

SCREW

16

205-43-72480

COVER

17

01010-51025

BOLT

18

01643-31032

WASHER

Выбрано товаров: 0