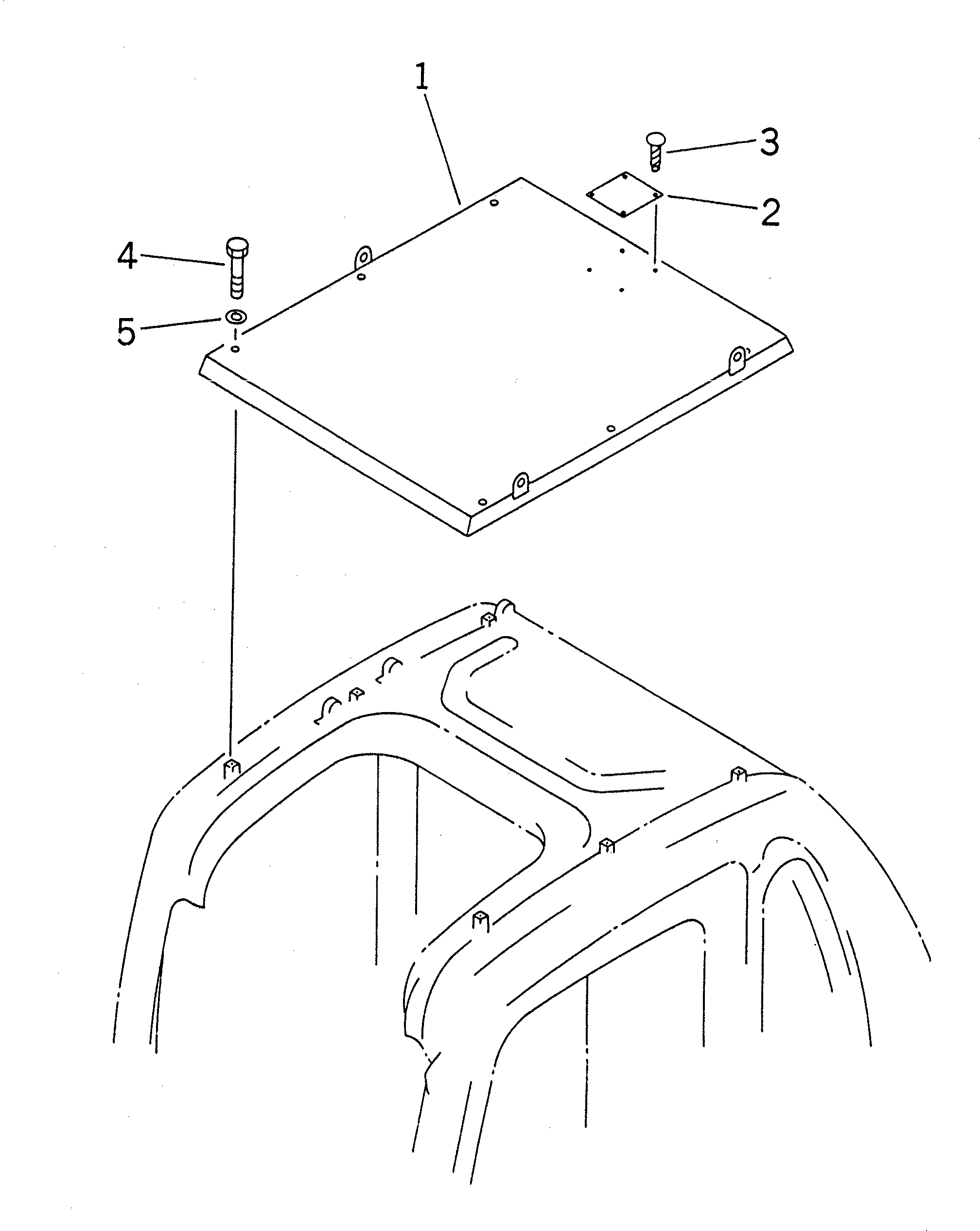
Запчасти Komatsu PC120-6 ВЕРХН. ЗАЩИТА КАБИНА ОПЕРАТОРА И СИСТЕМА УПРАВЛЕНИЯ

Схема запчастей Komatsu PC120-6 - ВЕРХН. ЗАЩИТА КАБИНА ОПЕРАТОРА И СИСТЕМА УПРАВЛЕНИЯ
FIT
1:1
100%

Артикул

Название

Примечание

Количество

1

20Y-954-2111

GUARD

2

09660-20100

PLATE¤ SAFETY

3

04418-13060

SCREW

4

01010-81265

BOLT

|4

01010-51265

BOLT

5

01643-31232

WASHER

Выбрано товаров: 0