Качественные детали и логистика
Оригинальные и аналоговые запчасти с доставкой по России, Казахстану и Беларуси
©2022 PartSell ООО "Система" ИНН 2463123282 ОГРН 1212400004838
Центральный офис: г. Красноярск, Академика Киренского, д.87, пом.4
Телефон: 8 (800) 777-65-74 Email: zakaz@partsell.ru
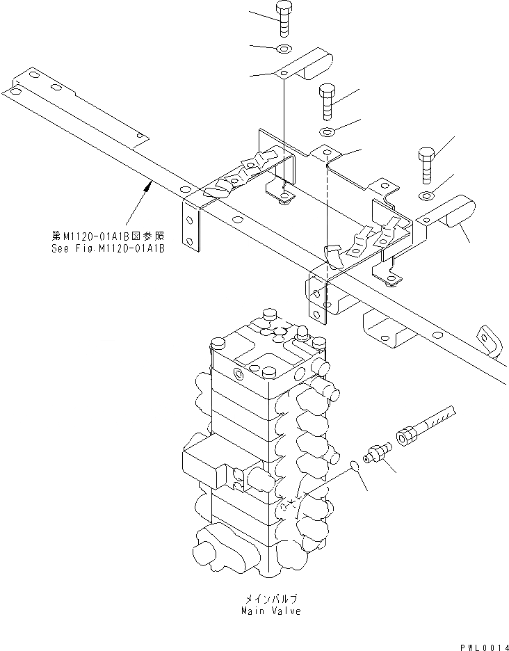
КЛАПАН ТРУБЫ (ДРЕНАЖН.¤ ГЛАВН. КОРПУС И ГЛАВН. КРЕПЛЕНИЕ)(№7-89)
№
Артикул
Название
Примечание
Количество
1
07230-20210
UNION
2
07002-01423
O-RING
3
203-06-61422
BRACKET
4
01010-81225
BOLT
5
01643-31232
WASHER
6
203-62-63260
CLIP
7
01010-81230
8
Выбрано товаров: 0