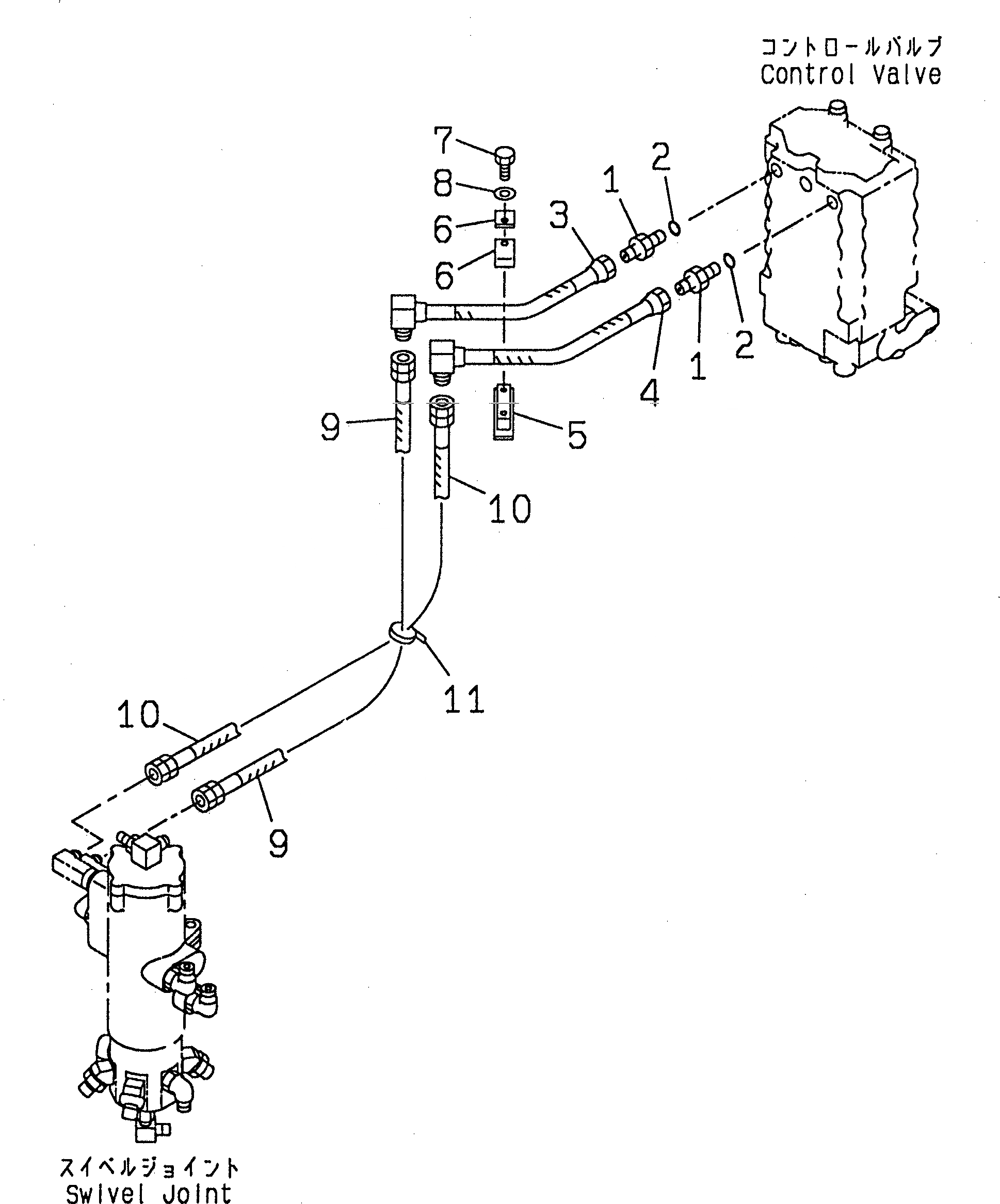
Запчасти Komatsu PC120-6H ВЕРХН. ТРУБЫ ЛИНИЯ (СПЕЦИФ-Я С ОТВАЛОМ ИЛИ НАКЛОН.ING СПЕЦ-Я.)(№-999) ГИДРАВЛИКА

Схема запчастей Komatsu PC120-6H - ВЕРХН. ТРУБЫ ЛИНИЯ (СПЕЦИФ-Я С ОТВАЛОМ ИЛИ НАКЛОН.ING СПЕЦ-Я.)(№-999) ГИДРАВЛИКА
FIT
1:1
100%

Артикул

Название

Примечание

Количество

1

07230-20522

UNION

2

07002-12434

O-RING

3

203-910-6110

TUBE

4

203-910-6120

TUBE

5

203-910-6130

PLATE

6

202-966-2910

CLIP

7

01010-51025

BOLT

8

01643-31032

WASHER

9

07096-00408

HOSE

10

07096-00409

HOSE

11

08034-00823

BAND

Выбрано товаров: 11