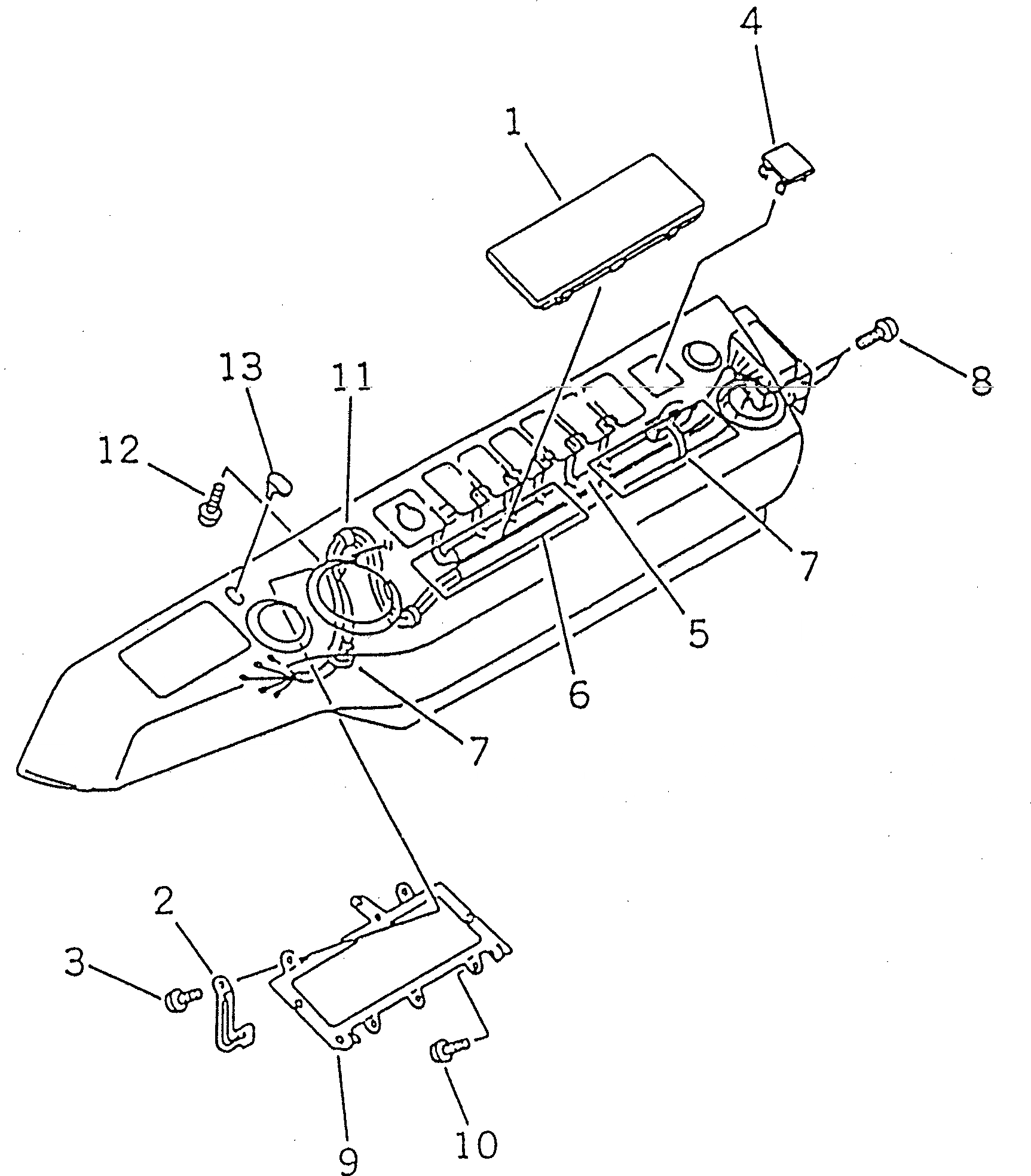
Запчасти Komatsu PC120-6H КАБИНА (ПАНЕЛЬ) (РАДИО И Э/ПРОВОДКА)(№-89) КАБИНА ОПЕРАТОРА И СИСТЕМА УПРАВЛЕНИЯ

Схема запчастей Komatsu PC120-6H - КАБИНА (ПАНЕЛЬ) (РАДИО И Э/ПРОВОДКА)(№-89) КАБИНА ОПЕРАТОРА И СИСТЕМА УПРАВЛЕНИЯ
FIT
1:1
100%

Артикул

Название

Примечание

Количество

1

20Y-06-24291

CAP

2

20Y-06-24260

STAY

3

01370-00512

SCREW

|3

01023-10510

SCREW

4

20Y-06-23860

CAP

5

20Y-06-23880

WIRING HARNESS

6

207-06-61210

WIRING HARNESS

|6

20Y-06-23870

WIRING HARNESS

7

08034-20414

BAND

8

01023-10408

SCREW

9

20Y-06-23910

BRACKET

10

01370-00512

SCREW

11

20Y-06-23920

CLAMP

12

01023-10408

SCREW

13

20Y-06-23780

CAP

Выбрано товаров: 15