Запчасти Komatsu PC120-6J УПРАВЛ-Е ПОДАЧ. ТОПЛИВА(№-) КОМПОНЕНТЫ ДВИГАТЕЛЯ

Схема запчастей Komatsu PC120-6J - УПРАВЛ-Е ПОДАЧ. ТОПЛИВА(№-) КОМПОНЕНТЫ ДВИГАТЕЛЯ
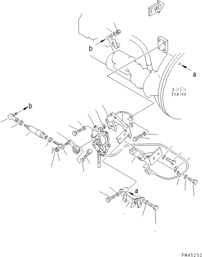
1
2
3
4
5
6
7
8
9
10
11
12
13
14
15
16
17
18
18
19
19
20
21
22
23
24
25
26
27
28
29
FIT
1:1
100%

Артикул

Название

Примечание

Количество

1

203-43-61111

BRACKET

2

08036-11014

CLIP

3

01010-51025

BOLT

4

01643-31032

WASHER

5

203-43-61131

BRACKET

6

01010-51080

BOLT

7

01643-31032

WASHER

8

01010-51065

BOLT

9

01643-31032

WASHER

10

01010-51040

BOLT

11

01643-31032

WASHER

12

203-43-61120

LEVER

13

01010-51030

BOLT

14

01602-21030

WASHER,SPRING

15

203-43-61150

BRACKET

16

08036-11214

CLIP

17

08036-11014

CLIP

18

01010-51025

BOLT

19

01643-31032

WASHER

20

203-43-52163

SPRING ASS'Y

21

01582-11008

NUT

22

04252-21061

END

23

01593-31008

NUT

24

04050-12018

PIN,COTTER

25

01582-11008

NUT

26

20Y-43-12180

JOINT

27

01580-10605

NUT

28

01602-20619

WASHER,SPRING

29

7834-40-2000

MOTOR ASS'Y

Выбрано товаров: 29