Запчасти Komatsu PC120-6J ОСНОВН. КОНСТРУКЦИЯ (P.P.C. ХОД ТРУБЫ) (КЛАПАН EPC) (РАДИО УПРАВЛ-ЕСПЕЦ-Я.)(№7-97) КАБИНА ОПЕРАТОРА И СИСТЕМА УПРАВЛЕНИЯ

Схема запчастей Komatsu PC120-6J - ОСНОВН. КОНСТРУКЦИЯ (P.P.C. ХОД ТРУБЫ) (КЛАПАН EPC) (РАДИО УПРАВЛ-Е  СПЕЦ-Я.)(№7-97) КАБИНА ОПЕРАТОРА И СИСТЕМА УПРАВЛЕНИЯ
FIT
1:1
100%

Артикул

Название

Примечание

Количество

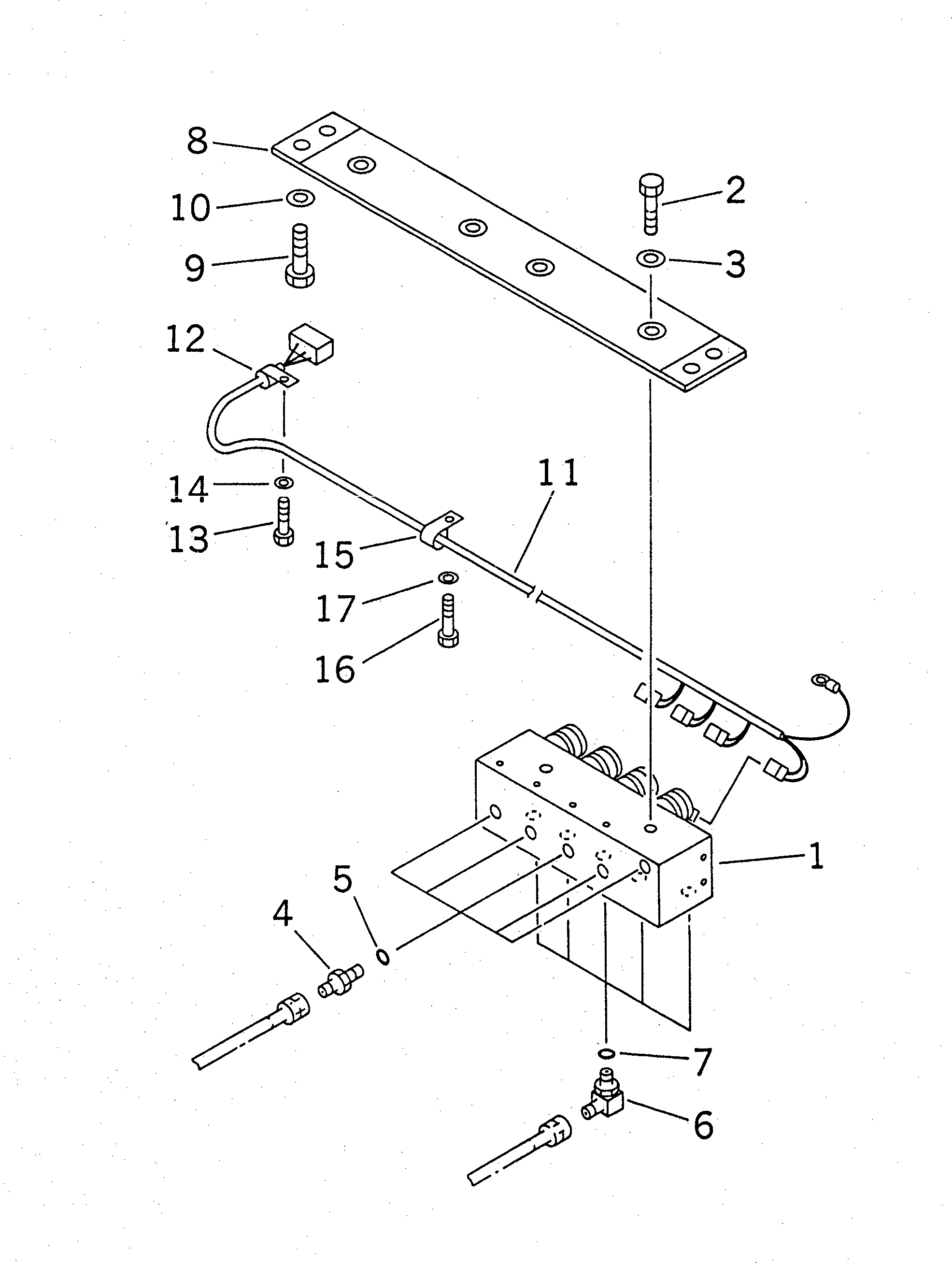
1

20Y-62-24630

VALVE ASS'Y

2

01010-81025

BOLT

3

01643-31032

WASHER

4

07230-20210

UNION

5

07002-01423

O-RING

6

07235-10210

ELBOW

7

07002-01423

O-RING

8

20Y-62-24641

PLATE

9

01010-81225

BOLT

10

01643-31232

WASHER

11

20Y-06-26110

WIRING HARNESS

12

08036-01414

CLIP

13

01010-81220

BOLT

14

01643-31232

WASHER

15

08053-00912

CLIP

16

01010-81220

BOLT

17

01643-31232

WASHER

Выбрано товаров: 17