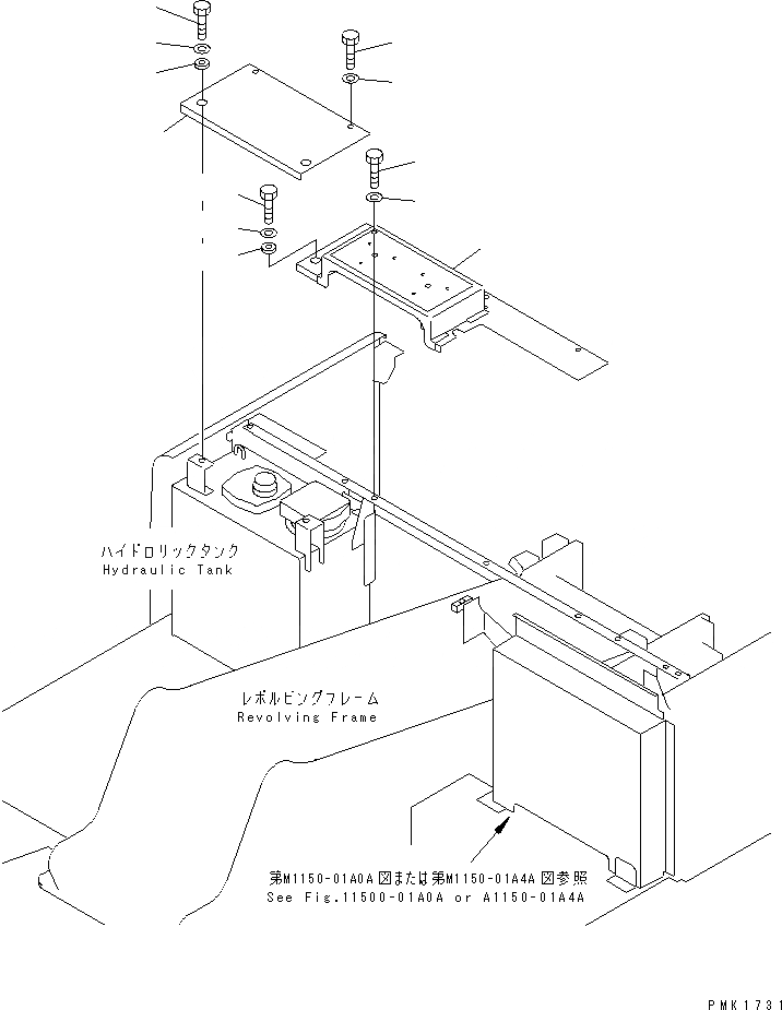
Запчасти Komatsu PC120-6J КЛАПАН ВЕРХН. ЧАСТЬ (РАДИО УПРАВЛ-Е СПЕЦ-Я.) ( АКТУАТОР)(№7-89) ЧАСТИ КОРПУСА

Схема запчастей Komatsu PC120-6J - КЛАПАН ВЕРХН. ЧАСТЬ (РАДИО УПРАВЛ-Е СПЕЦ-Я.) ( АКТУАТОР)(№7-89) ЧАСТИ КОРПУСА
1
2
3
4
5
6
7
8
9
10
11
12
FIT
1:1
100%

Артикул

Название

Примечание

Количество

1

203-54-66790

PLATE

2

01010-81230

BOLT

3

01643-31232

WASHER

4

01010-81230

BOLT

5

01643-31232

WASHER

6

203-54-62670

COLLAR

7

203-54-65321

COVER

8

01010-81230

BOLT

9

01643-31232

WASHER

10

01010-81230

BOLT

11

01643-31232

WASHER

12

203-54-62670

COLLAR

Выбрано товаров: 12