Запчасти Komatsu PC120-6S ОСНОВН. КЛАПАН (8/8)(№-) ОСНОВН. КОМПОНЕНТЫ И РЕМКОМПЛЕКТЫ

Схема запчастей Komatsu PC120-6S - ОСНОВН. КЛАПАН (8/8)(№-) ОСНОВН. КОМПОНЕНТЫ И РЕМКОМПЛЕКТЫ
FIT
1:1
100%

Артикул

Название

Примечание

Количество

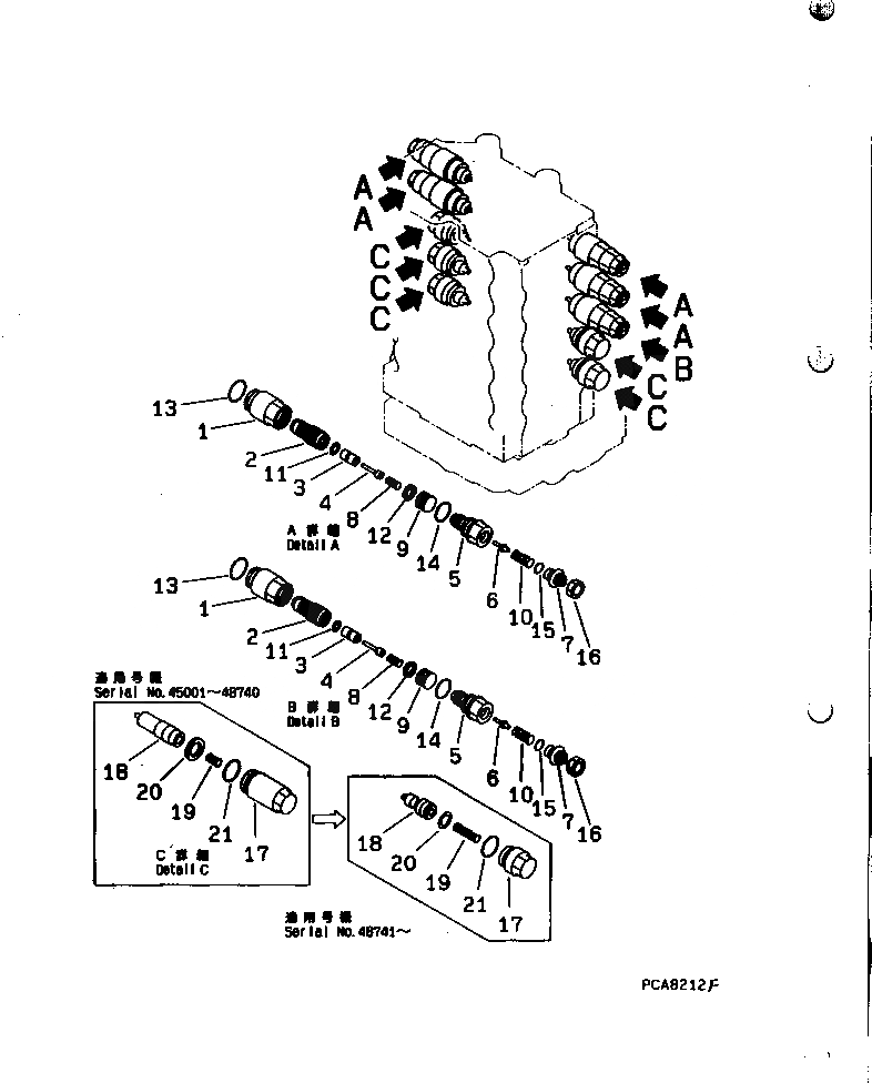
|1

723-36-12105

CONTROL VALVE

|1

723-36-12104

CONTROL VALVE

|1

723-36-12102

CONTROL VALVE

|1

709-70-74302

VALVE ASS'Y,SUCTION AND SAFETY

|1

709-70-74402

VALVE ASS'Y,SUCTION AND SAFETY

1

SLEEVE

2

SLEEVE

3

POPPET

4

PISTON

5

PLUG

6

POPPET

7

SCREW

8

SPRING,1

9

SPRING

10

SPRING

11

SEAL

12

SEAL

13

709-25-11390

O-RING

14

O-RING

15

O-RING

16

NUT

|17

723-40-85100

VALVE ASS'Y,SUCTION

|17

709-20-81201

VALVE ASS'Y,SUCTION

17

SLEEVE

|17

SLEEVE

18

VALVE

|18

VALVE

19

SPRING

|19

SPRING

20

SEAL

21

709-25-11390

O-RING

Выбрано товаров: 31