Запчасти Komatsu PC120S-3 КЛАПАН МЕХ-М УПРАВЛ-Я (ДЛЯ WRIST УПРАВЛ-Е)(№98-) ПОВОРОТН. И СИСТЕМА УПРАВЛЕНИЯ

Схема запчастей Komatsu PC120S-3 - КЛАПАН МЕХ-М УПРАВЛ-Я (ДЛЯ WRIST УПРАВЛ-Е)(№98-) ПОВОРОТН. И СИСТЕМА УПРАВЛЕНИЯ
FIT
1:1
100%

Артикул

Название

Примечание

Количество

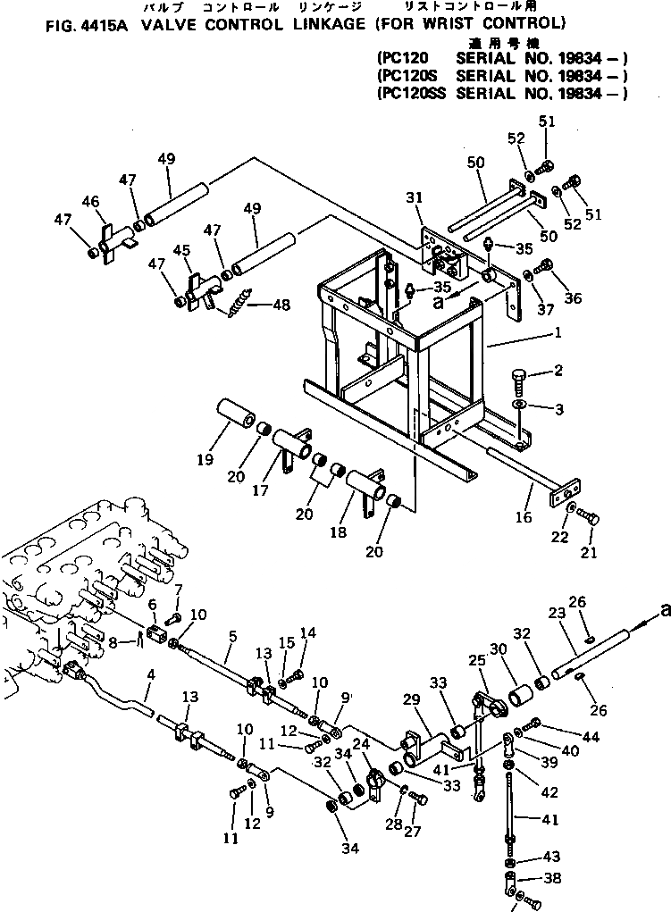
1

203-43-42940

BRACKET

2

01010-51225

BOLT

3

01643-31232

WASHER

4

203-43-43160

ROD

5

203-43-43170

ROD

6

20T-43-22210

YOKE

7

04205-10822

PIN

8

04050-12012

PIN,COTTER

9

04250-41056

END,ROD

10

01582-11008

NUT

11

01010-51030

BOLT

12

01643-31032

WASHER

|12

04254-01032

SPACER

13

203-43-42542

PLATE

|13

203-43-42541

PLATE

14

01010-50825

BOLT

15

01643-30823

WASHER

16

203-43-42950

SHAFT

17

203-43-42962

LEVER

|17

203-43-42961

LEVER

18

203-43-42972

LEVER

|18

203-43-42971

LEVER

19

203-43-43150

SPACER

20

195-61-34130

BEARING

21

01010-51020

BOLT

22

01643-31032

WASHER

23

203-43-42980

SHAFT

24

203-43-43121

LEVER

|24

203-43-43120

LEVER

25

203-43-42991

LEVER

|25

203-43-42990

LEVER

26

04010-00519

KEY

27

01010-50830

BOLT

28

01602-20825

WASHER,SPRING

29

203-43-43112

LEVER

|29

203-43-43111

LEVER

30

203-43-43180

SPACER

31

203-43-43140

BRACKET

32

06120-02016

BEARING

33

195-61-34130

BEARING

34

06122-02004

SEAL,BEARING

35

07020-00000

FITTING,GREASE

36

01010-51025

BOLT

37

01643-31032

WASHER

38

04250-41056

END,ROD

39

04250-61056

END,ROD¤ L.H. THREAD

40

01643-31032

WASHER

|40

04254-01032

SPACER

41

04248-31028

ROD

42

01508-21006

NUT,L.H. THREAD

43

01582-11008

NUT

44

01010-51030

BOLT

45

203-43-42551

LEVER,L.H.

46

203-43-42561

LEVER,R.H.

47

203-43-31420

BUSHING

48

203-43-43230

SPRING

49

203-43-43190

SPACER

50

203-43-42530

SHAFT

51

01010-51016

BOLT

52

01643-31032

WASHER

Выбрано товаров: 0