Запчасти Komatsu PC120SC-6 ПОЛ (ПРАВ. СТОЙКА) (СТОЙКА¤ РАМА И РЕГУЛЯТОР)(№-) КАБИНА ОПЕРАТОРА И СИСТЕМА УПРАВЛЕНИЯ

Схема запчастей Komatsu PC120SC-6 - ПОЛ (ПРАВ. СТОЙКА) (СТОЙКА¤ РАМА И РЕГУЛЯТОР)(№-) КАБИНА ОПЕРАТОРА И СИСТЕМА УПРАВЛЕНИЯ
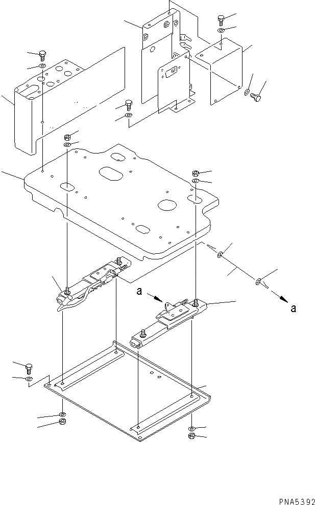
1
2
3
4
5
5
6
6
7
8
9
10
11
12
12
13
14
15
16
17
18
19
20
21
22
22
23
23
FIT
1:1
100%

Артикул

Название

Примечание

Количество

1

20Y-43-21382

COVER,R.H.

2

01010-81025

BOLT

3

01643-31032

WASHER

4

207-43-61110

FRAME

5

01582-11008

NUT

6

01643-31032

WASHER

7

207-43-61140

ADJUSTER,R.H.

8

01582-11008

NUT

9

01643-31032

WASHER

10

203-54-63560

PLATE

11

20Y-43-22540

WIRE

12

01640-20816

WASHER

13

01010-81030

BOLT

14

01643-31032

WASHER

15

207-43-61130

ADJUSTER,L.H.

16

01582-11008

NUT

17

01643-31032

WASHER

18

20Y-43-21883

COVER,R.H.

19

01010-81225

BOLT

20

01643-31232

WASHER

21

20Y-43-21970

COVER,R.H.

22

01010-80816

BOLT

23

01643-30823

WASHER

Выбрано товаров: 0