Запчасти Komatsu PC120SS-3 УПРАВЛЯЮЩ. КЛАПАН¤ ПРАВ. (/) (ДЛЯ WRIST УПРАВЛ-Е) УПРАВЛ-Е РАБОЧИМ ОБОРУДОВАНИЕМ

Схема запчастей Komatsu PC120SS-3 - УПРАВЛЯЮЩ. КЛАПАН¤ ПРАВ. (/) (ДЛЯ WRIST УПРАВЛ-Е) УПРАВЛ-Е РАБОЧИМ ОБОРУДОВАНИЕМ
FIT
1:1
100%

Артикул

Название

Примечание

Количество

|1

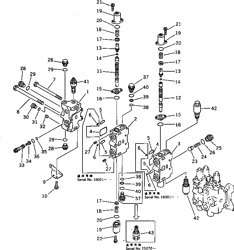
700-85-25002

CONTROL VALVE ASS'Y,R.H.

|1

700-85-25001

CONTROL VALVE ASS'Y,R.H.

|1

700-85-25000

CONTROL VALVE ASS'Y,R.H.

1

COVER,VALVE

|1

COVER,VALVE

2

BLOCK,VALVE

|2

BLOCK,VALVE

3

BLOCK,VALVE

|3

BLOCK,VALVE

4

07000-13050

O-RING

5

07000-03038

O-RING

|5

07000-03030

O-RING

6

07000-01007

O-RING

7

700-86-11112

BOLT

8

700-84-13220

BOLT

9

700-84-13480

BRACKET

10

01010-51020

BOLT

11

SPOOL,ARM

12

SPOOL,BOOM

13

700-84-13790

JOINT

14

07002-11223

O-RING

15

700-84-13490

PLATE

16

700-84-11240

O-RING

17

700-84-13781

RETAINER

18

700-84-13770

SPRING

19

700-84-12510

CASE

20

700-84-11240

O-RING

21

01253-30625

BOLT

22

01252-30616

BOLT

23

700-42-31460

VALVE

24

700-42-31470

SPRING

25

700-84-11320

PLUG

26

07002-13034

O-RING

27

706-86-51170

PLUG

28

700-22-11370

PLUG

29

07002-12434

O-RING

30

07040-11409

PLUG

31

07002-01423

O-RING

32

07043-70108

PLUG

|33

700-84-13860

ORIFICE ASS'Y

33

700-84-13840

ORIFICE

34

700-84-13850

SENSOR

35

07000-02014

O-RING

36

07002-02434

O-RING

37

700-84-13960

PLUG

|37

700-84-13960

PLUG

38

700-22-11410

O-RING

|38

700-22-11410

O-RING

39

700-80-64220

RING,BACK-UP

|39

700-80-64220

RING,BACK-UP

40

07002-03034

O-RING

|40

07002-03034

O-RING

41

700-26-53000

VALVE ASS'Y

42

700-81-61002

VALVE ASS'Y,SUCTION AND SAFETY

|42

700-81-61001

VALVE ASS'Y,SUCTION AND SAFETY

43

700-82-73000

SAFETY VALVE ASS'Y

Выбрано товаров: 0