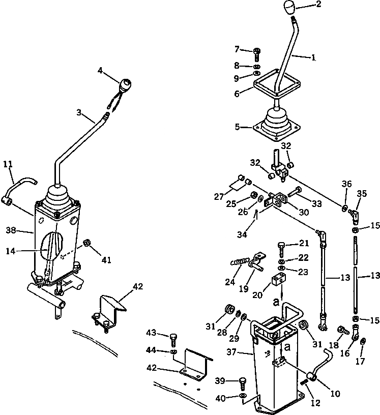
Запчасти Komatsu PC120SS-3 РЫЧАГ УПРАВЛЕНИЯ РАБОЧИМ ОБОРУДОВАНИЕМ (ДЛЯ УДЛИНН. РЫЧАГ УПРАВЛ-Е)(№8-99) ПОВОРОТН. И СИСТЕМА УПРАВЛЕНИЯ

Схема запчастей Komatsu PC120SS-3 - РЫЧАГ УПРАВЛЕНИЯ РАБОЧИМ ОБОРУДОВАНИЕМ (ДЛЯ УДЛИНН. РЫЧАГ УПРАВЛ-Е)(№8-99) ПОВОРОТН. И СИСТЕМА УПРАВЛЕНИЯ
FIT
1:1
100%

Артикул

Название

Примечание

Количество

1

203-43-42132

LEVER,L.H.

2

20D-43-11370

KNOB

3

203-43-42142

LEVER,R.H.

4

203-06-21140

SWITCH,HORN

5

203-43-42782

BELLOWS

6

205-43-62260

COVER

7

205-06-62170

BOLT

8

205-06-62180

WASHER,SPRING

9

205-06-62190

WASHER

10

205-43-63820

LEVER,L.H.

11

205-43-63830

LEVER,R.H.

12

04025-00520

PIN,SPRING

13

04245-41032

ROD

14

04245-41029

ROD

|14

04245-41030

ROD

15

01582-11008

NUT

16

04250-41056

END,ROD

17

04254-41032

SPACER

18

01010-51030

BOLT

19

205-43-62320

LEVER

20

205-43-62330

BLOCK

21

01010-50840

BOLT

22

01602-20825

WASHER,SPRING

23

01643-30823

WASHER

24

203-43-21370

SPRING

25

01582-11008

NUT

26

01643-31032

WASHER

27

203-43-31420

BUSHING

28

04064-01410

RING,SNAP

29

01641-21423

WASHER

30

205-43-52140

YOKE

31

09415-02512

CAP

32

203-43-31420

BUSHING

33

04205-01450

PIN

34

04050-14022

PIN,COTTER

35

207-43-11170

JOINT

36

01643-31032

WASHER

37

203-43-42791

STAND,L.H.

|37

203-43-42790

STAND,L.H.

38

203-43-42811

STAND,R.H.

|38

203-43-42810

STAND,R.H.

39

01010-51230

BOLT

40

01643-31232

WASHER

41

08037-01008

GROMMET

42

203-43-42572

BRACKET

|42

203-43-42571

BRACKET

43

01010-51030

BOLT

44

01602-21030

WASHER,SPRING

Выбрано товаров: 48