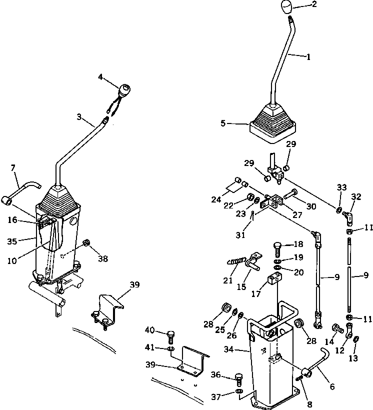
Запчасти Komatsu PC120SS-3 РЫЧАГ УПРАВЛЕНИЯ РАБОЧИМ ОБОРУДОВАНИЕМ (ДЛЯ УДЛИНН. РЫЧАГ УПРАВЛ-Е)(№-) ПОВОРОТН. И СИСТЕМА УПРАВЛЕНИЯ

Схема запчастей Komatsu PC120SS-3 - РЫЧАГ УПРАВЛЕНИЯ РАБОЧИМ ОБОРУДОВАНИЕМ (ДЛЯ УДЛИНН. РЫЧАГ УПРАВЛ-Е)(№-) ПОВОРОТН. И СИСТЕМА УПРАВЛЕНИЯ
FIT
1:1
100%

Артикул

Название

Примечание

Количество

1

203-43-42132

LEVER,L.H.

2

203-43-41910

KNOB

|2

20D-43-11370

KNOB

3

203-43-42142

LEVER,R.H.

4

203-06-42130

SWITCH,HORN

|4

203-06-21140

SWITCH,HORN

5

20X-43-21730

BOOT

6

203-43-43590

LEVER,L.H.

7

203-43-43620

LEVER,R.H.

8

04025-00520

PIN,SPRING

9

04245-41032

ROD

10

04245-41029

ROD

|10

04245-41030

ROD

11

01582-11008

NUT

12

04250-41056

END,ROD

13

01643-31032

WASHER

14

01010-51030

BOLT

15

203-43-43610

LEVER

16

203-43-43610

LEVER

17

205-43-62330

BLOCK

18

01010-50840

BOLT

19

01602-20825

WASHER,SPRING

20

01643-30823

WASHER

21

203-43-21370

SPRING

22

01582-11008

NUT

23

01643-31032

WASHER

24

203-43-31420

BUSHING

25

04064-01410

RING,SNAP

26

01641-21423

WASHER

27

205-43-52140

YOKE

28

09415-02512

CAP

29

203-43-31420

BUSHING

30

04205-01450

PIN

31

04050-14022

PIN,COTTER

32

207-43-11170

JOINT

33

01643-31032

WASHER

34

20X-43-21710

STAND,L.H.

35

20X-43-21720

STAND,R.H.

36

01010-51230

BOLT

37

01643-31232

WASHER

38

08037-01008

GROMMET

39

203-43-42573

BRACKET

40

01010-51030

BOLT

41

01602-21030

WASHER,SPRING

Выбрано товаров: 44