Запчасти Komatsu PC1250-7 ОХЛАЖД-Е (WIND-ТОРМОЗ.R) (ДЛЯ РАДИАТОРА) СИСТЕМА ОХЛАЖДЕНИЯ

Схема запчастей Komatsu PC1250-7 - ОХЛАЖД-Е (WIND-ТОРМОЗ.R) (ДЛЯ РАДИАТОРА) СИСТЕМА ОХЛАЖДЕНИЯ
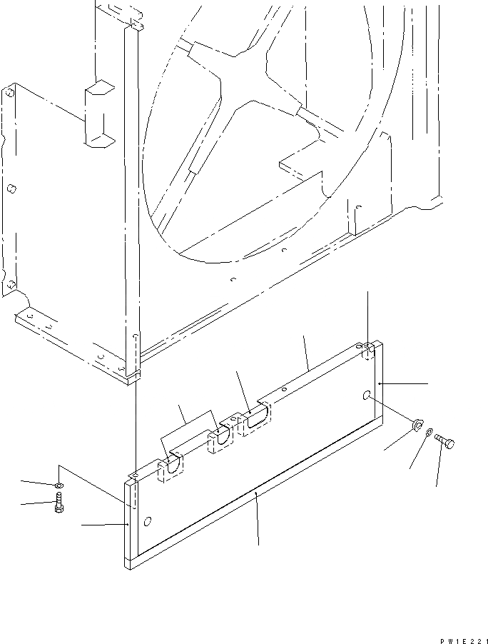
1
2
3
4
5
6
7
8
9
10
11
12
FIT
1:1
100%

Артикул

Название

Примечание

Количество

1

21N-03-37321

SEAL

2

21N-03-31650

SHEET

3

21N-03-31680

SHEET

4

21N-03-31731

SHEET

5

21N-03-31740

SHEET

6

21N-03-37331

SHEET

7

21N-03-37750

SHEET

8

01010-81230

BOLT

9

01643-31232

WASHER

10

01010-81230

BOLT

11

01643-31232

WASHER

12

203-54-62670

COLLAR

Выбрано товаров: 12