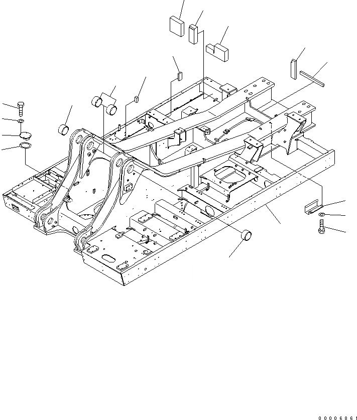
Запчасти Komatsu PC1250-7 ОСНОВНАЯ РАМА (ДЛЯ ВЫС. КАБИНА) (ДЛЯ ПОГРУЗ.) ОСНОВНАЯ РАМА И ЕЕ ЧАСТИ

Схема запчастей Komatsu PC1250-7 - ОСНОВНАЯ РАМА (ДЛЯ ВЫС. КАБИНА) (ДЛЯ ПОГРУЗ.) ОСНОВНАЯ РАМА И ЕЕ ЧАСТИ
1
2
2
2
3
4
5
6
7
8
9
10
11
12
13
14
15
16
FIT
1:1
100%

Артикул

Название

Примечание

Количество

1

21N-46-37140

FRAME

2

21N-46-31261

BUSHING

3

21N-46-31211

COVER

4

21N-46-31230

GASKET

5

01010-81230

BOLT

6

01643-31232

WASHER

7

21N-46-37321

BRACKET

8

01010-81225

BOLT

9

01643-31232

WASHER

10

21N-03-32171

SHEET

11

21N-03-32192

SHEET

12

21N-03-32331

SHEET

13

21N-03-37491

SHEET

14

21N-03-37740

SHEET

15

21N-46-37410

SHEET

16

21N-46-37420

SHEET

Выбрано товаров: 16