Запчасти Komatsu PC1250-7 КОВШ .M (ЗАДН. КОВШ) (ДЛЯ НИЖН. РАЗГРУЗКА) РАБОЧЕЕ ОБОРУДОВАНИЕ

Схема запчастей Komatsu PC1250-7 - КОВШ .M (ЗАДН. КОВШ) (ДЛЯ НИЖН. РАЗГРУЗКА) РАБОЧЕЕ ОБОРУДОВАНИЕ
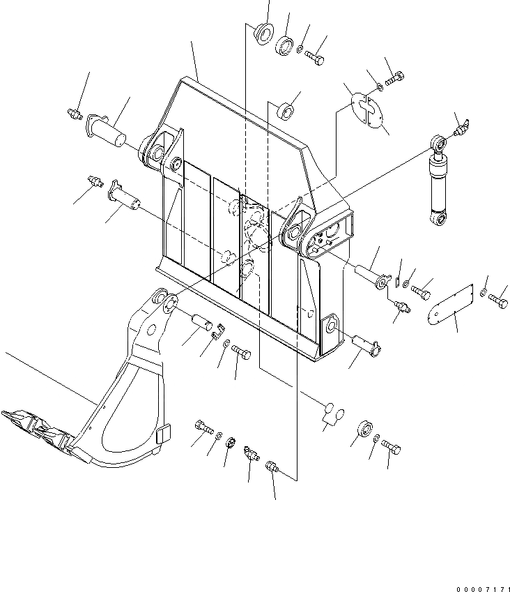
1
2
3
4
5
6
7
8
9
10
11
12
13
14
15
16
17
18
19
20
21
22
23
24
25
26
27
28
29
30
31
32
33
34
35
36
37
FIT
1:1
100%

Артикул

Название

Примечание

Количество

1

21N-72-35112

BUCKET

|1

21N-72-35111

BUCKET

|1

21N-72-35110

BUCKET

2

21N-72-35250

COVER

3

01010-81225

BOLT

4

01643-31232

WASHER

5

21N-72-14180

BUSHING

6

21N-72-14190

BUSHING

7

21N-72-14231

PIN

8

21N-70-11230

PLATE

9

01010-81640

BOLT

10

01643-31645

WASHER

11

21N-72-35270

PIN

12

21N-72-35220

LOCK

13

01010-82045

BOLT

14

01643-32060

WASHER

15

21N-72-34250

PIN

16

21N-72-34270

HOLDER

17

01010-81235

BOLT

18

01643-31232

WASHER

19

07020-00000

FITTING

20

07020-00675

FITTING

21

423-70-11160

NIPPLE

22

07020-00675

FITTING

23

21N-72-35261

PIN

|23

21N-72-35260

PIN

24

21N-72-13130

HOLDER

25

01010-81645

BOLT

26

01643-31645

WASHER

27

07000-12130

O-RING

28

07020-00000

FITTING

29

21N-72-14171

PIN

30

21N-72-14210

HOLDER

31

01010-81645

BOLT

32

01643-31645

WASHER

33

07020-00000

FITTING

34

21N-72-14350

COVER

35

21N-72-14342

COVER

36

01010-81225

BOLT

37

21N-30-11340

COLLAR

Выбрано товаров: 40