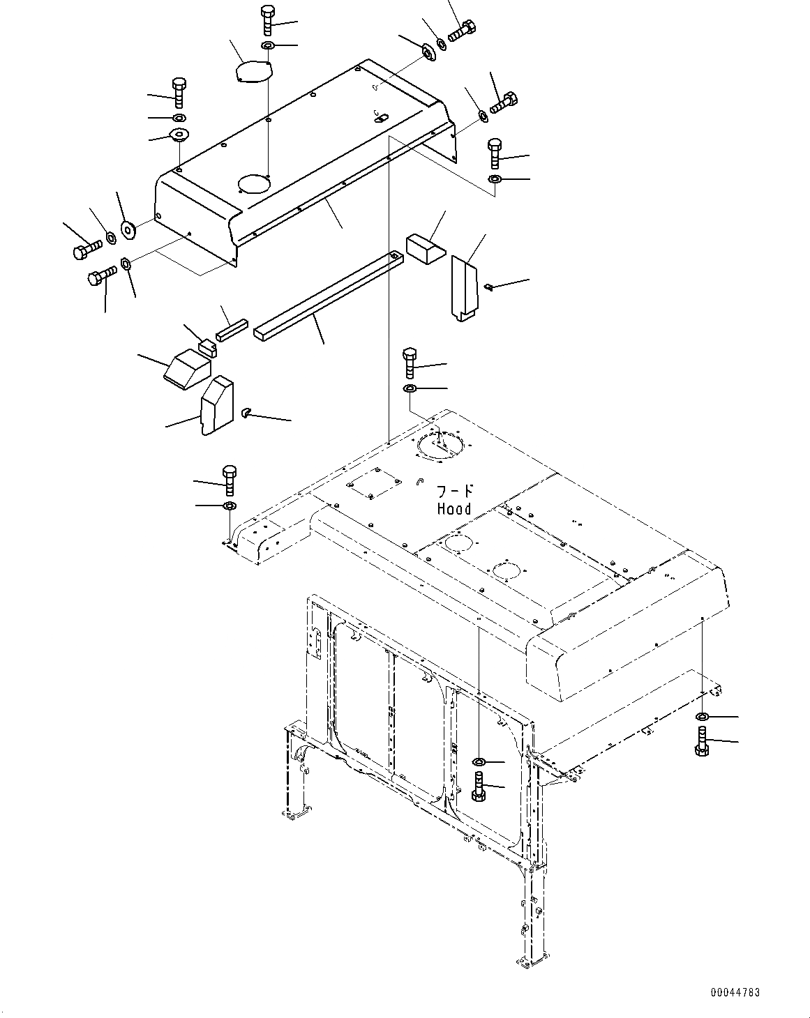
Запчасти Komatsu PC1250-8 КАПОТ, (/) (№8-) КАПОТ, ДЛЯ СТРАН ЕС НОВ. NOISE ARRANGEMENT

Схема запчастей Komatsu PC1250-8 - КАПОТ, (/) (№8-) КАПОТ, ДЛЯ СТРАН ЕС НОВ. NOISE ARRANGEMENT
2
1
1
2
10
11
6
4
5
9
8
16
17
12
13
14
7
7
13
12
13
14
15
12
13
14
12
13
13
12
3
2
1
1
2
12
FIT
1:1
100%

Артикул

Название

Примечание

Количество

1

01010-81230

Bolt

2

01643-31232

Washer

3

21N-54-41131

Cover

4

21N-54-41150

Sheet

5

21N-54-41160

Sheet

6

21N-54-41171

Sheet

7

21N-54-41181

Sheet

8

21N-54-41761

Sheet

9

21N-54-41771

Sheet

10

21N-54-41781

Sheet

11

21N-54-41791

Sheet

12

01010-81230

Bolt

13

01643-31232

Washer

14

203-54-62670

Collar

15

207-54-51440

Plate

16

01010-81230

Bolt

17

01643-31232

Washer

Выбрано товаров: 17