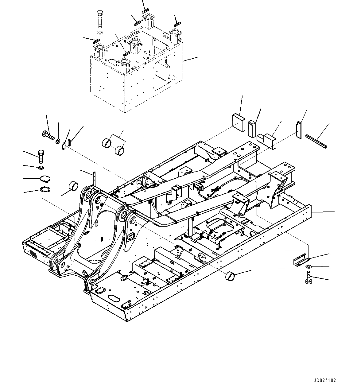
Запчасти Komatsu PC1250-8R ОСНОВНАЯ РАМА (№8-) ОСНОВНАЯ РАМА, С ВЫС. КРЕПЛЕНИЕ КАБИНЫ, ПРЯМАЯ ЛОПАТА CONFIGURATION

Схема запчастей Komatsu PC1250-8R - ОСНОВНАЯ РАМА (№8-) ОСНОВНАЯ РАМА, С ВЫС. КРЕПЛЕНИЕ КАБИНЫ, ПРЯМАЯ ЛОПАТА CONFIGURATION
6
12
5
4
7
3
18
20
19
17
2
11
13
3
16
16
16
16
16
21
3
14
15
10
8
9
1
FIT
1:1
100%

Артикул

Название

Примечание

Количество

1

21N-46-41232

Frame

2

21N-46-41170

Bracket,Welded

3

21N-46-31261

Bushing

4

21N-46-31211

Cover

5

21N-46-31230

Gasket

6

01010-81230

Bolt

7

01643-31232

Washer

8

21N-46-37321

Bracket

9

01010-81225

Bolt

10

01643-31232

Washer

11

21N-03-32171

Sheet

12

21N-03-32192

Sheet

13

21N-03-32331

Sheet

14

21N-46-41190

Sheet

15

21N-46-37420

Sheet

16

21N-46-37330

Sheet

17

21N-03-41950

Cover

18

21N-03-41960

Sheet

19

01010-81230

Bolt

20

01643-31232

Washer

21

21N-53-34111

Frame

|$21

21N-53-34111

Frame

|$22

21N-54-43810

Frame

Выбрано товаров: 23