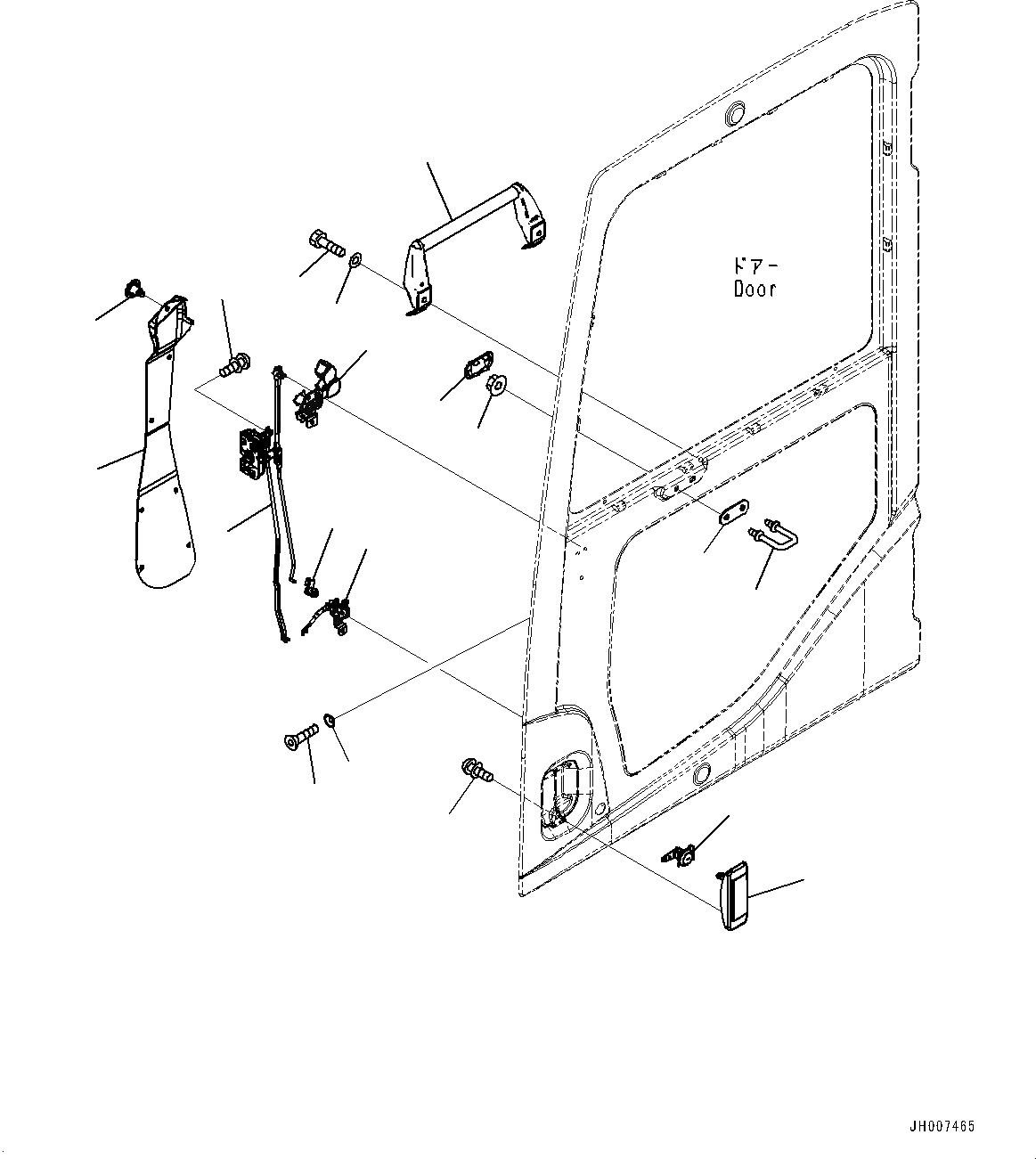
Запчасти Komatsu PC1250-8R КАБИНА, ЗАМОК ДВЕРИ (№77-) КАБИНА, С VHMS, ORBCOMM, GPS, ДЛЯ КАРЬЕРН

Схема запчастей Komatsu PC1250-8R - КАБИНА, ЗАМОК ДВЕРИ (№77-) КАБИНА, С VHMS, ORBCOMM, GPS, ДЛЯ КАРЬЕРН
14
13
9
5
19
18
15
16
17
1
2
3
4
6
7
8
11
12
10
FIT
1:1
100%

Артикул

Название

Примечание

Количество

|$0

21N-54-00541

Cab Assembly

|$1

21N-54-00430

Door Assembly

1

20Y-54-52200

Latch Assembly

2

20Y-54-52300

Handle Assembly

3

20Y-54-52400

Bell Crank Assembly

4

01023-10612

Screw

5

20Y-54-52990

Handle

6

01023-10612

Screw

7

01240-00616

Screw

8

195-Z11-1690

Washer

9

20Y-54-52820

Lock Assembly

10

22B-54-16330

Snap

11

20Y-54-51441

Cover

12

22B-54-16461

Rivet

13

20Y-54-51321

Striker

14

20Y-54-51341

Plate

15

01584-01008

Nut

16

20Y-54-51490

Cover

17

2A5-53-13130

Grip

18

01010-80820

Bolt

19

01643-30823

Washer

Выбрано товаров: 21