Запчасти Komatsu PC1250-8R ВСАСЫВ. ТРУБЫ, (/) (№-) ВСАСЫВ. ТРУБЫ

Схема запчастей Komatsu PC1250-8R - ВСАСЫВ. ТРУБЫ, (/) (№-) ВСАСЫВ. ТРУБЫ
25
26
24
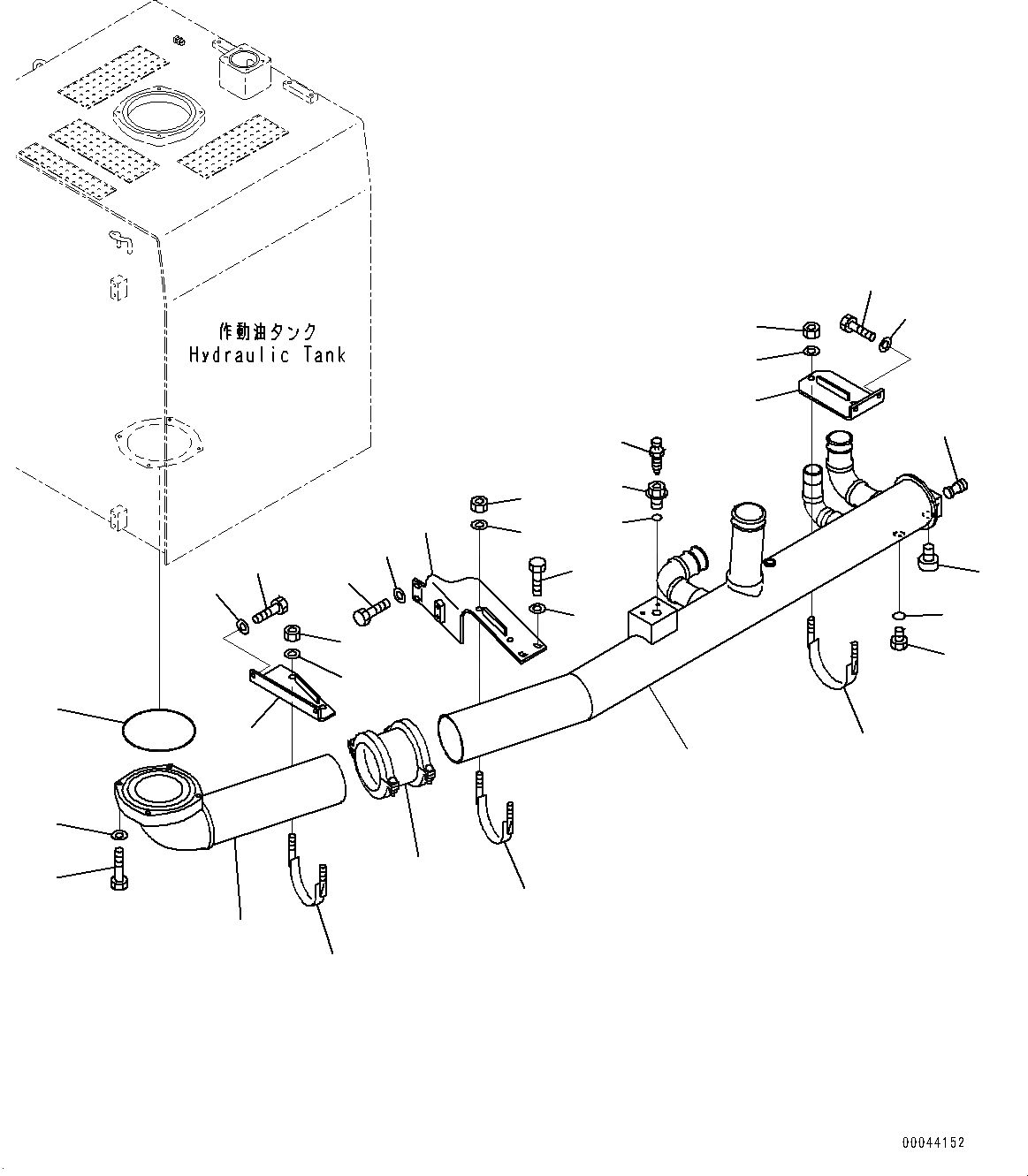
1
2
3
11
19
16
13
32
33
4
5
28
29
8
9
10
23
30
31
27
12
17
18
6
7
21
20
15
22
14
FIT
1:1
100%

Артикул

Название

Примечание

Количество

1

21N-62-31111

Tube

2

07000-15230

O-ring

3

01010-81265

Bolt

4

01643-31232

Washer

5

21N-62-31182

Bracket

6

01010-81240

Bolt

7

01643-31232

Washer

8

21T-62-75351

Clip

9

01597-01615

Nut, Flanged

10

01643-31645

Washer

11

21N-62-41121

Tube

12

198-60-19820

Valve

13

07040-13618

Plug

14

20B-27-11210

Bleeder

15

706-87-40150

Plug

16

07002-12434

O-ring

17

07040-12412

Plug

18

07002-12434

O-ring

19

21N-62-31171

Bracket

20

01010-81240

Bolt

21

175-54-34170

Washer

22

01010-81240

Bolt

23

175-54-34170

Washer

24

21T-62-75351

Clip

25

01597-01615

Nut, Flanged

26

01643-31645

Washer

27

21N-62-31191

Bracket

28

01010-81230

Bolt

29

01643-31232

Washer

30

21T-62-75351

Clip

31

01597-01615

Nut, Flanged

32

01643-31645

Washer

33

07332-06000

Coupling

Выбрано товаров: 0