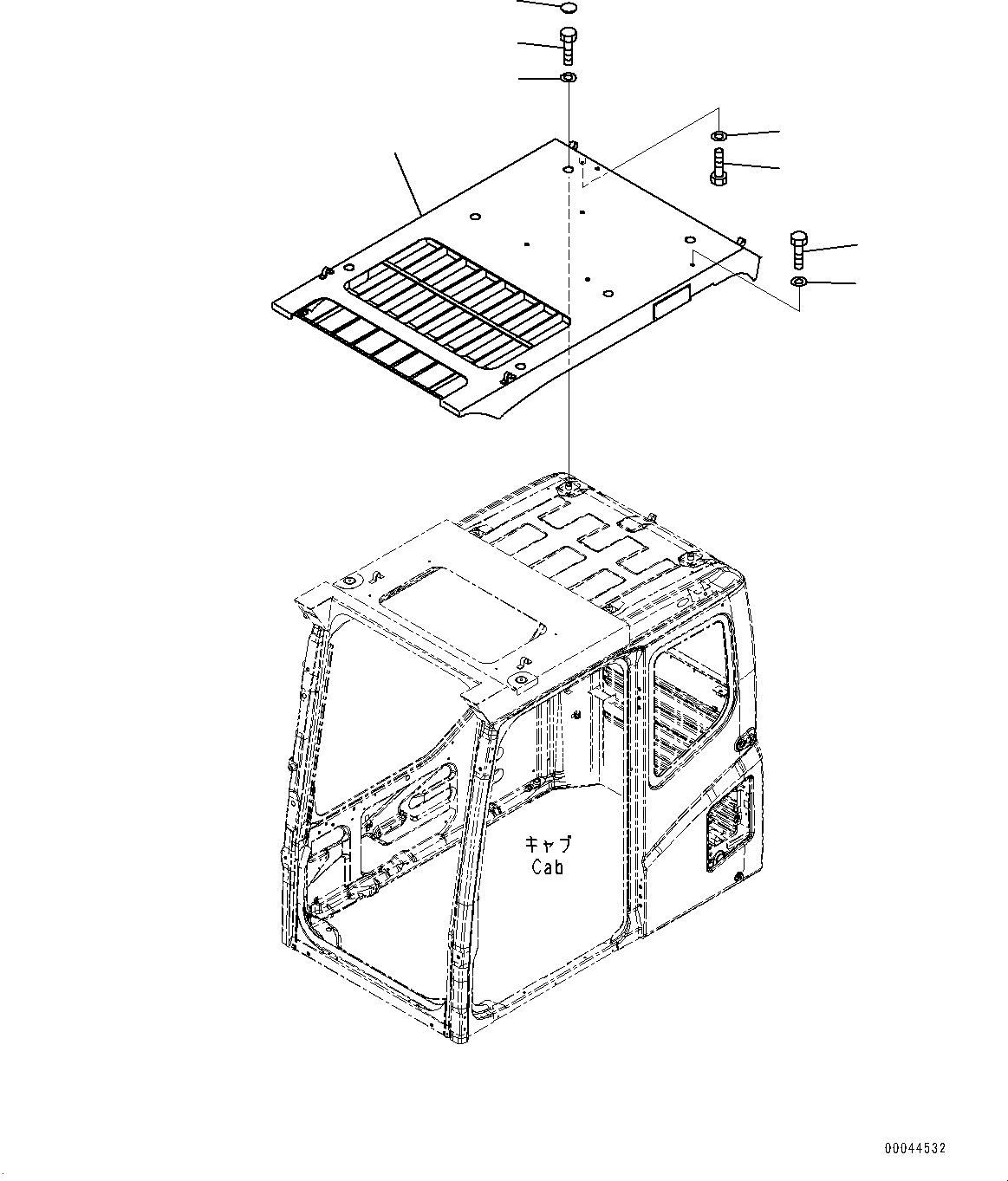
Запчасти Komatsu PC1250-8R ВЕРХНЯЯ ЗАЩИТА (№-) ВЕРХНЯЯ ЗАЩИТА

Схема запчастей Komatsu PC1250-8R - ВЕРХНЯЯ ЗАЩИТА (№-) ВЕРХНЯЯ ЗАЩИТА
4
3
2
1
5
6
7
8
FIT
1:1
100%

Артикул

Название

Примечание

Количество

1

21N-54-38312

Guard

2

01010-D1250

Bolt

3

01643-71232

Washer

4

195-Z11-2970

Cap

5

01010-D1220

Bolt

6

01643-71232

Washer

7

01010-D1016

Bolt

8

01643-71032

Washer

Выбрано товаров: 8