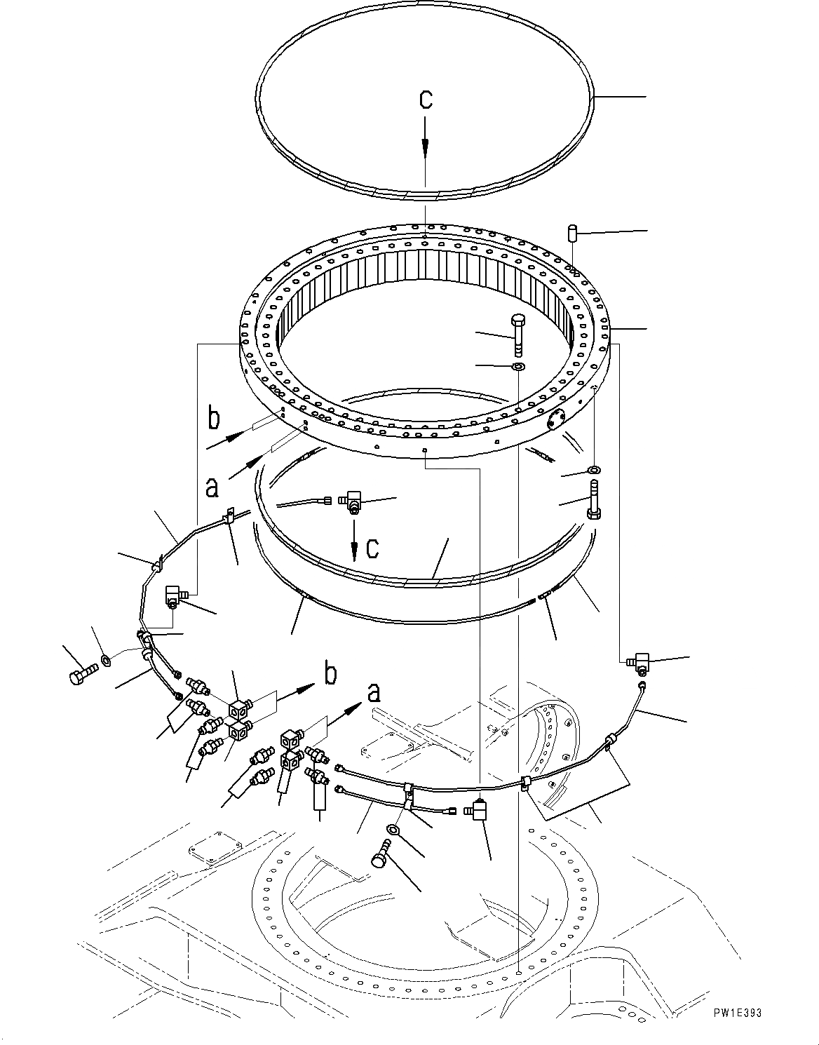
Запчасти Komatsu PC1250-8R ПОВОРОТН. КРУГ (№-) ПОВОРОТН. КРУГ
№
Артикул
Название
Примечание
Количество
1
21N-25-00201
Swing Circle
2
209-25-11150
Joint
3
21N-25-31120
Seal
4
21N-25-31130
Wire
5
21N-25-31110
Seal
6
07020-00000
Fitting, Grease
7
205-25-71280
Nipple
8
07214-50813
Connector
9
21N-25-31321
Tube
10
21N-25-31311
Tube
11
20Y-25-11270
Elbow
12
08036-00814
Clip
13
01010-81220
Bolt
14
01643-31232
Washer
15
170-27-12250
Pin, Dowel
16
198-61-11260
Bolt
17
150-74-11140
Bolt
18
01643-33380
Washer
Выбрано товаров: 18