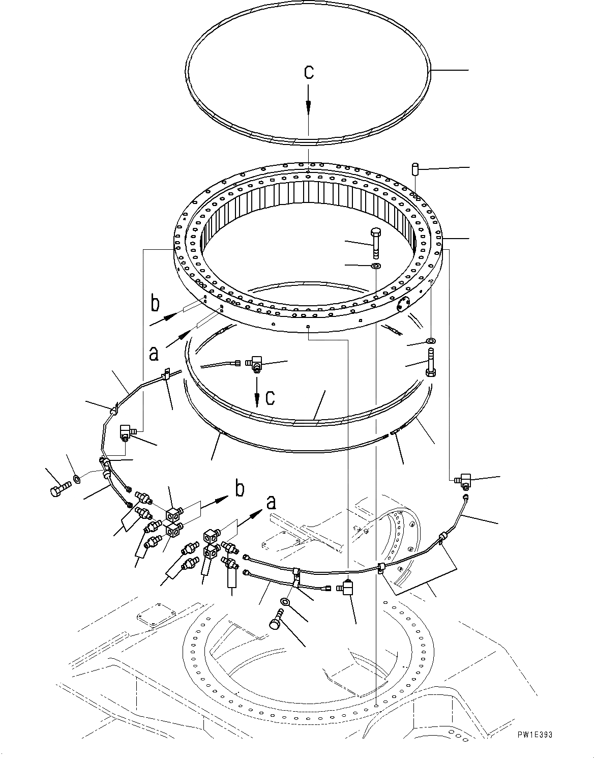
Запчасти Komatsu PC1250LC-8 ПОВОРОТН. КРУГ (№8-) ПОВОРОТН. КРУГ

Схема запчастей Komatsu PC1250LC-8 - ПОВОРОТН. КРУГ (№8-) ПОВОРОТН. КРУГ
8
12
14
9
8
7
7
6
12
7
17
16
15
5
4
3
2
1
13
9
12
11
10
13
14
18
6
18
11
11
12
11
10
12
2
FIT
1:1
100%

Артикул

Название

Примечание

Количество

1

21N-25-00201

Swing Circle

2

209-25-11150

Joint

3

21N-25-31120

Seal

4

21N-25-31130

Wire

5

21N-25-31110

Seal

6

07020-00000

Fitting, Grease

7

205-25-71280

Nipple

8

07214-50813

Connector

9

21N-25-31321

Tube

10

21N-25-31311

Tube

11

20Y-25-11270

Elbow

12

08036-00814

Clip

13

01010-81220

Bolt

14

01643-31232

Washer

15

170-27-12250

Pin, Dowel

16

198-61-11260

Bolt

17

150-74-11140

Bolt

18

01643-33380

Washer

Выбрано товаров: 18