Запчасти Komatsu PC1250SE-7 ОХЛАЖД-Е (РАДИАТОР И МАСЛООХЛАДИТЕЛЬ) СИСТЕМА ОХЛАЖДЕНИЯ

Схема запчастей Komatsu PC1250SE-7 - ОХЛАЖД-Е (РАДИАТОР И МАСЛООХЛАДИТЕЛЬ) СИСТЕМА ОХЛАЖДЕНИЯ
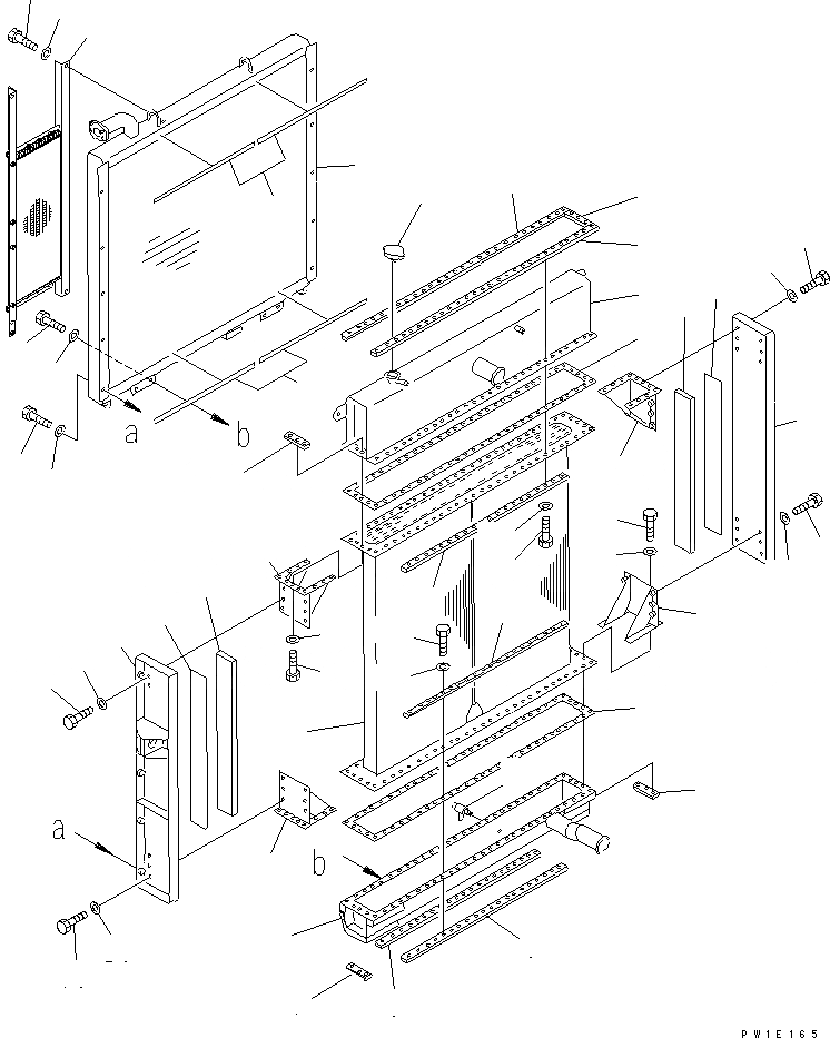
1
2
3
4
5
5
6
6
7
7
7
7
8
8
9
9
10
10
11
11
12
12
12
12
13
14
15
16
17
18
19
19
19
19
20
20
20
20
21
22
22
23
23
24
24
25
26
27
28
29
30
31
32
FIT
1:1
100%

Артикул

Название

Примечание

Количество

|1

21N-03-37700

RADIATOR ASS'Y

1

21N-03-31121

TANK

2

209-03-71170

CAP

3

21N-03-37710

CORE

4

21N-03-31130

TANK

5

21N-03-31170

PLATE

6

21N-03-31180

PLATE

7

209-03-71240

PLATE

8

21N-03-31220

PLATE

9

21N-03-31160

GASKET

10

01010-81030

BOLT

11

01643-31032

WASHER

12

209-03-71161

BRACKET

13

01010-81235

BOLT

14

01643-31232

WASHER

15

01010-81240

BOLT

16

01643-31232

WASHER

17

21N-03-31140

SUPPORT,L.H.

18

21N-03-31150

SUPPORT,R.H.

19

01010-81230

BOLT

20

01643-31232

WASHER

21

07730-50004

VALVE

22

21N-03-31230

SHEET

23

21N-03-31240

SHEET

24

21N-03-31250

SHEET

25

21N-03-37412

OIL COOLER ASS'Y

|25

21N-03-37411

OIL COOLER ASS'Y

26

01010-81025

BOLT

27

01643-31032

WASHER

28

01010-81430

BOLT

29

01643-31445

WASHER

30

21N-04-37122

COOLER ASS'Y

|30

21N-04-37121

COOLER ASS'Y

31

01010-81220

BOLT

32

01643-31232

WASHER

Выбрано товаров: 35