Запчасти Komatsu PC1250SE-7 АВТОМАТИЧ. СМАЗ. (ГИДРОЛИНИЯ СТРЕЛЫ) ВОЗД. СИСТЕМА

Схема запчастей Komatsu PC1250SE-7 - АВТОМАТИЧ. СМАЗ. (ГИДРОЛИНИЯ СТРЕЛЫ) ВОЗД. СИСТЕМА
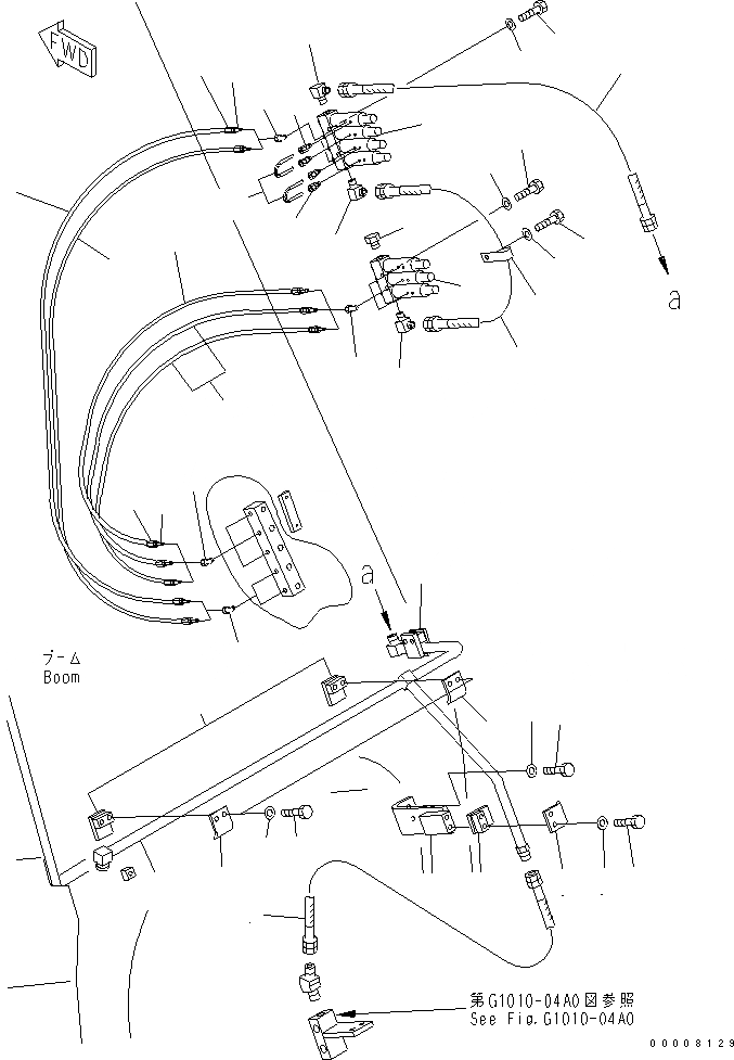
1
2
3
3
3
3
4
4
5
5
6
6
7
8
9
10
11
12
13
14
15
15
16
17
18
19
20
21
22
23
24
25
26
27
27
28
28
29
30
31
31
32
33
34
34
FIT
1:1
100%

Артикул

Название

Примечание

Количество

1

07086-00415

HOSE

2

21N-68-37530

TUBE

3

203-973-5660

CLAMP

4

203-973-5720

SEAT

5

01010-81055

BOLT

6

01643-31032

WASHER

7

21N-68-37550

BRACKET

8

01010-81230

BOLT

9

01643-31232

WASHER

10

07086-004A4

HOSE

11

566-01-61190

ELBOW

12

561-95-37450

INJECTOR ASS'Y

13

01010-81050

BOLT

14

01643-31032

WASHER

15

21N-68-32320

CONNECTOR

16

21N-68-32360

TUBE

17

567-01-12140

ELBOW

18

07086-00305

HOSE

19

04434-52110

CLIP

20

01010-81020

BOLT

21

01643-31032

WASHER

22

567-01-12140

ELBOW

23

581-96-19520

INJECTOR ASS'Y

24

01010-81050

BOLT

25

01643-31032

WASHER

26

581-96-19590

PLUG

27

561-95-63250

ELBOW

28

569-95-64430

HOSE

29

425-S95-2140

SLEEVE

30

425-S95-2160

STUD

31

21N-68-32460

HOSE

32

425-S95-2140

SLEEVE

33

425-S95-2160

STUD

34

561-95-63290

ELBOW

Выбрано товаров: 34