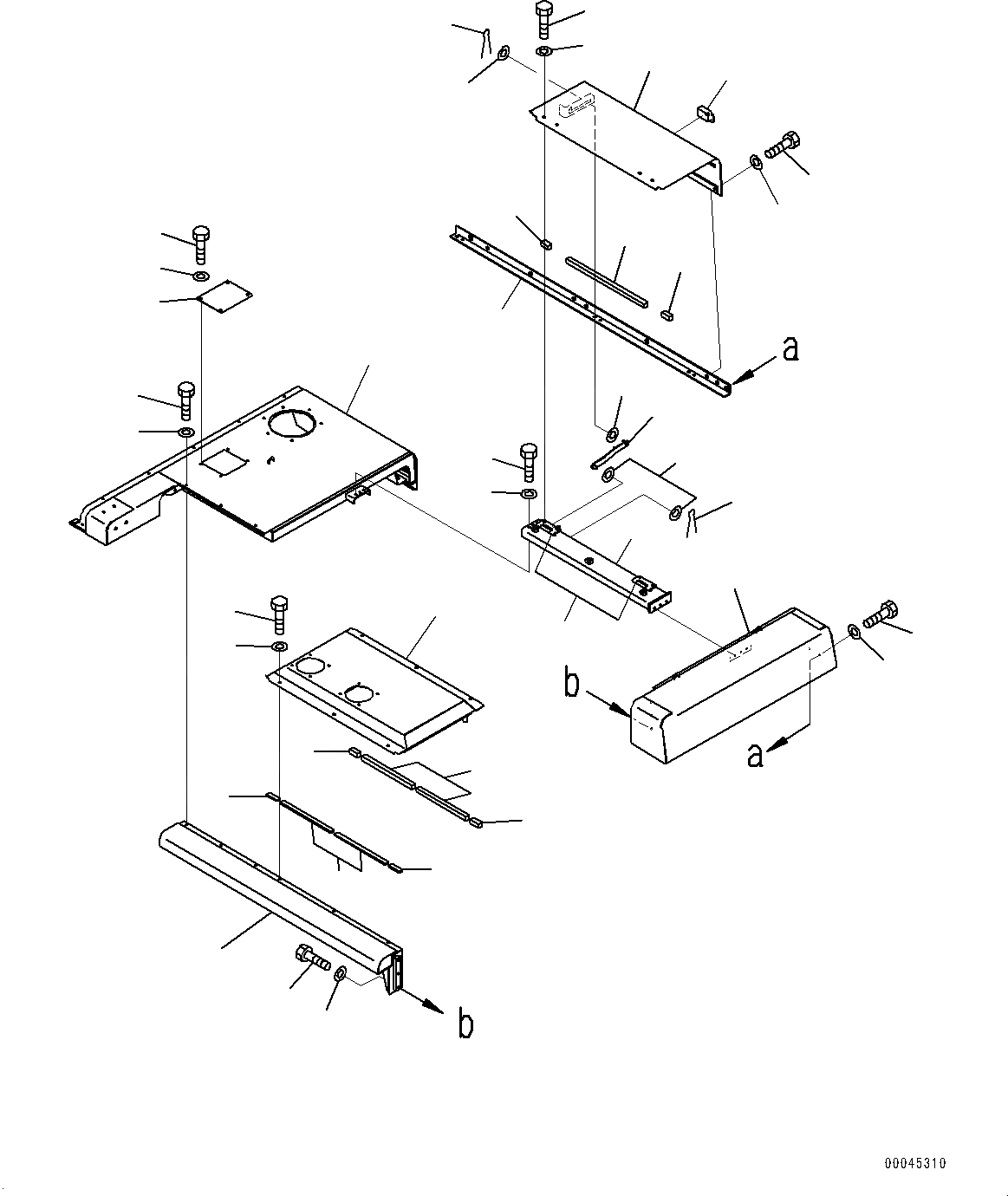
Запчасти Komatsu PC1250SP-8 КАПОТ, (/) (№8-) КАПОТ

Схема запчастей Komatsu PC1250SP-8 - КАПОТ, (/) (№8-) КАПОТ
1
4
5
6
7
8
9
10
11
12
15
16
17
18
21
22
25
19
20
28
29
30
31
32
33
2
3
13
14
19
20
23
24
27
26
30
29
16
9
11
30
FIT
1:1
100%

Артикул

Название

Примечание

Количество

1

21N-54-41111

Cover

2

01010-81230

Bolt

3

01643-31232

Washer

4

21N-54-31121

Bracket

5

01010-81255

Bolt

6

01643-31232

Washer

7

21N-54-39180

Cover

8

21N-54-41121

Cover

9

21N-53-32220

Sheet

10

21N-53-32230

Sheet

11

21N-53-32240

Sheet

12

21N-53-32250

Sheet

13

01010-81230

Bolt

14

01643-31232

Washer

15

21N-53-31690

Cover

16

21N-53-32190

Sheet

17

21N-53-32210

Sheet

18

209-54-12280

Handle

19

01010-81230

Bolt

20

01643-31232

Washer

21

21N-54-31162

Frame

22

20Y-54-28161

Hinge,Welded

23

01010-81230

Bolt

24

01643-31232

Washer

25

21N-54-39230

Frame

26

01010-81230

Bolt

27

01643-31232

Washer

28

209-54-53151

Stay

29

04050-14028

Pin, Cotter

30

01643-31645

Washer

31

21N-54-42350

Plate

32

01010-81230

Bolt

33

01643-31232

Washer

Выбрано товаров: 0