Запчасти Komatsu PC1250SP-8R КРЫШКА(КАБИНА) (/)(№-) ЧАСТИ КОРПУСА

Схема запчастей Komatsu PC1250SP-8R - КРЫШКА(КАБИНА) (/)(№-) ЧАСТИ КОРПУСА
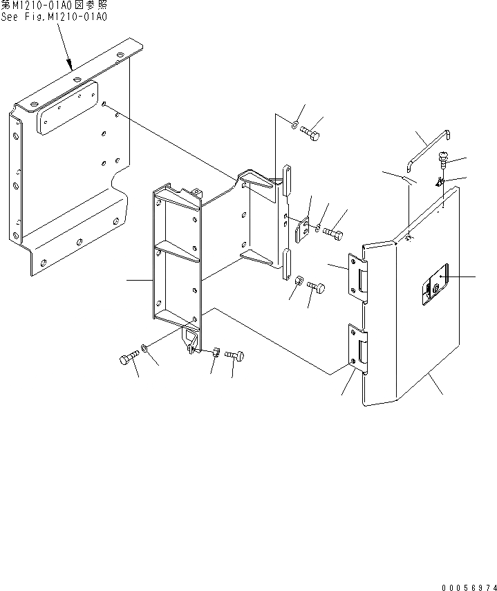
1
2
3
4
4
5
6
7
8
9
10
10
11
11
12
13
14
15
16
17
FIT
1:1
100%

Артикул

Название

Примечание

Количество

1

21N-54-43591

BRACKET

2

21N-54-43571

COVER

3

198-54-41982

LOCK ASS'Y (WELDED)

4

205-54-64160

HINGE (WELDED)

5

01010-81230

BOLT

6

01643-31232

WASHER

7

21N-53-31670

BRACKET

8

01010-81230

BOLT

9

01643-31232

WASHER

10

20Y-54-11611

STOPPER

11

01580-11008

NUT

12

20B-54-12210

SPRING

13

01023-10408

SCREW

14

205-54-64140

BAR

15

04050-13018

PIN

16

01010-81230

BOLT

17

01643-31232

WASHER

Выбрано товаров: 17