Запчасти Komatsu PC1250SP-8R ГИДР. БАК. (ДЛЯ ЗАПЫЛЕНН. РАЙОНОВ)(№-) ГИДРАВЛИКА

Схема запчастей Komatsu PC1250SP-8R - ГИДР. БАК. (ДЛЯ ЗАПЫЛЕНН. РАЙОНОВ)(№-) ГИДРАВЛИКА
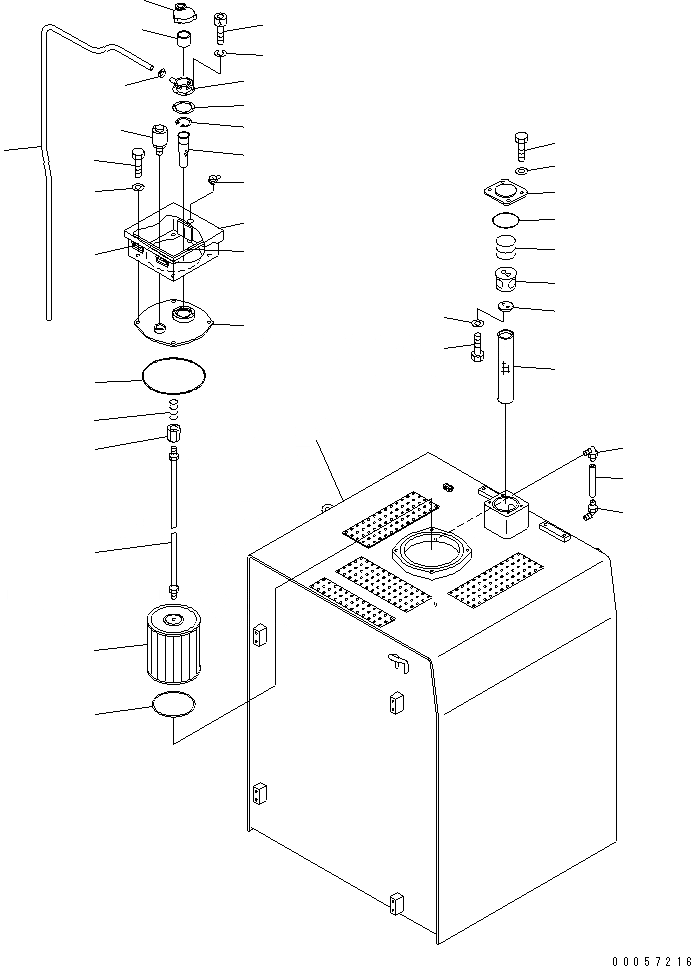
1
2
3
4
5
6
7
8
9
10
11
12
13
14
15
16
17
18
19
20
21
22
23
23
24
25
26
27
28
29
30
31
32
33
34
35
36
37
FIT
1:1
100%

Артикул

Название

Примечание

Количество

|$5

21N-60-31350

STRAINER ASS'Y

1

21N-60-31360

ROD ASS'Y

2

12R-60-11230

SPRING

3

20Y-60-21320

HOLDER

4

209-60-51120

STRAINER

5

21N-09-11140

O-RING

6

17A-60-11310

CAP ASS'Y

7

20Y-60-21470

ELEMENT

8

208-60-71180

FILLER NECK

9

20Y-60-21340

GASKET

10

01252-70516

BOLT

11

01601-20513

WASHER

12

07056-10045

STRAINER

13

04065-04718

RING

14

209-60-77120

COVER

15

07000-15230

O-RING

16

21N-60-41160

COVER

17

09455-12013

HINGE (WELDED)

18

209-04-51330

SEAL

19

205-60-71220

LOCK ASS'Y

20

01010-81230

BOLT

21

01643-31232

WASHER

22

21N-60-41150

TANK

23

203-60-31100

ELBOW ASS'Y

24

21T-60-71160

TUBE

25

198-60-55510

BREATHER

26

07270-61422

TUBE

27

07285-00155

CLIP

28

21N-60-32950

STRAINER

29

21N-60-31230

SPACER

30

102-10-43260

SPRING

31

150-67-12331

WASHER

32

01010-80825

BOLT

33

01643-30823

WASHER

34

21N-60-31221

COVER

35

01010-81230

BOLT

36

01643-31232

WASHER

37

07000-12095

O-RING

Выбрано товаров: 0