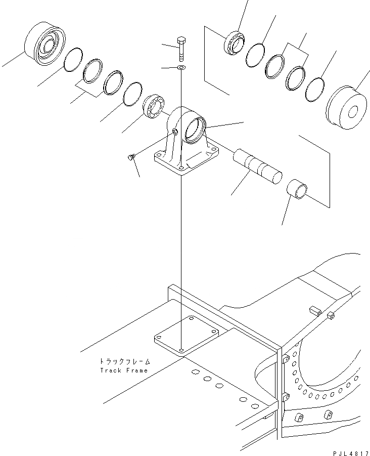
Запчасти Komatsu PC1250SP-8R ГУСЕНИЧНАЯ РАМА (ПОДДЕРЖИВАЮЩИЙ КАТОК) (ПРАВ.)(№-) ХОДОВАЯ

Схема запчастей Komatsu PC1250SP-8R - ГУСЕНИЧНАЯ РАМА (ПОДДЕРЖИВАЮЩИЙ КАТОК) (ПРАВ.)(№-) ХОДОВАЯ
1
1
2
2
3
4
4
5
5
5
5
6
7
8
9
10
FIT
1:1
100%

Артикул

Название

Примечание

Количество

|$7

21N-30-00130

CARRIER ROLLER ASS'Y

1

21N-30-35210

ROLLER

2

201-26-62330

BEARING

3

21N-30-35220

SPACER

|$11

207-30-00101

FLOATING SEAL ASS'Y

4

RING

5

O-RING

6

21N-30-35240

SUPPORT

7

21N-30-35230

SHAFT

8

07052-31624

PLUG

9

01010-82065

BOLT

10

01643-32060

WASHER

Выбрано товаров: 12