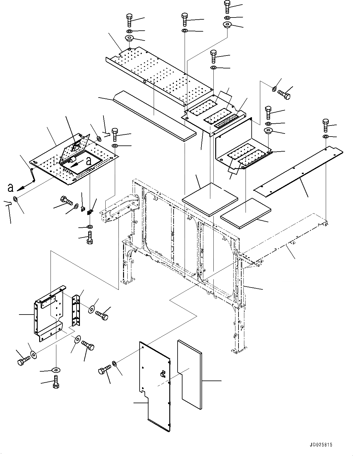
Запчасти Komatsu PC1250SP-8R ЗАДН. КРЫШКА, КРЫШКА(№-) ЗАДН. КРЫШКА

Схема запчастей Komatsu PC1250SP-8R - ЗАДН. КРЫШКА, КРЫШКА(№-) ЗАДН. КРЫШКА
2
10
11
12
17
16
6
13
1
4
18
17
16
3
4
3
5
11
10
8
9
15
36
38
37
7
14
45
46
19
20
21
22
33
32
27
23
32
28
31
25
35
34
30
29
26
24
33
44
43
39
42
40
41
44
43
41
40
FIT
1:1
100%

Артикул

Название

Примечание

Количество

1

21N-54-43480

Cover

2

21N-54-43531

Sheet

3

01010-81230

Bolt

4

01643-31232

Washer

5

208-54-57181

Collar

6

21N-54-42521

Cover

7

21N-54-39680

Sheet

8

21N-54-42160

Plate

9

21N-54-42170

Plate

10

01010-81230

Bolt

11

01643-31232

Washer

12

20Y-54-12821

Collar

13

21N-54-42531

Cover

14

21N-54-37650

Sheet

15

21N-54-42160

Plate

16

01010-81230

Bolt

17

01643-31232

Washer

18

20Y-54-12821

Collar

19

21N-54-39421

Cover

20

21N-54-39561

Sheet

21

01010-81235

Bolt

22

01643-31232

Washer

23

21N-54-41521

Cover

24

421-54-11372

Lock Assembly,Welded

25

20Y-54-29651

Bracket

26

21N-54-32990

Plate

27

01010-81225

Bolt

28

01643-31232

Washer

29

01010-81220

Bolt

30

01643-31232

Washer

31

203-54-56630

Rod

32

01643-30623

Washer

33

04050-11612

Pin, Cotter

34

01010-81235

Bolt

35

01643-31232

Washer

36

21N-54-31850

Cover

37

01010-81235

Bolt

38

01643-31232

Washer

39

21N-54-43491

Bracket

40

01010-81230

Bolt

41

175-54-34170

Washer

42

21N-54-43512

Bracket

43

01010-81230

Bolt

44

175-54-34170

Washer

45

21N-54-43410

Frame

46

21N-54-42210

Frame

Выбрано товаров: 46