Запчасти Komatsu PC1250SP-8R ОХЛАЖД-Е (КОНДЕНСАТОР) C

Схема запчастей Komatsu PC1250SP-8R - ОХЛАЖД-Е (КОНДЕНСАТОР) C
4
5
1
2
3
7
9
10
8
8
6
6
6
12
6
15
14
13
11
FIT
1:1
100%

Артикул

Название

Примечание

Количество

1

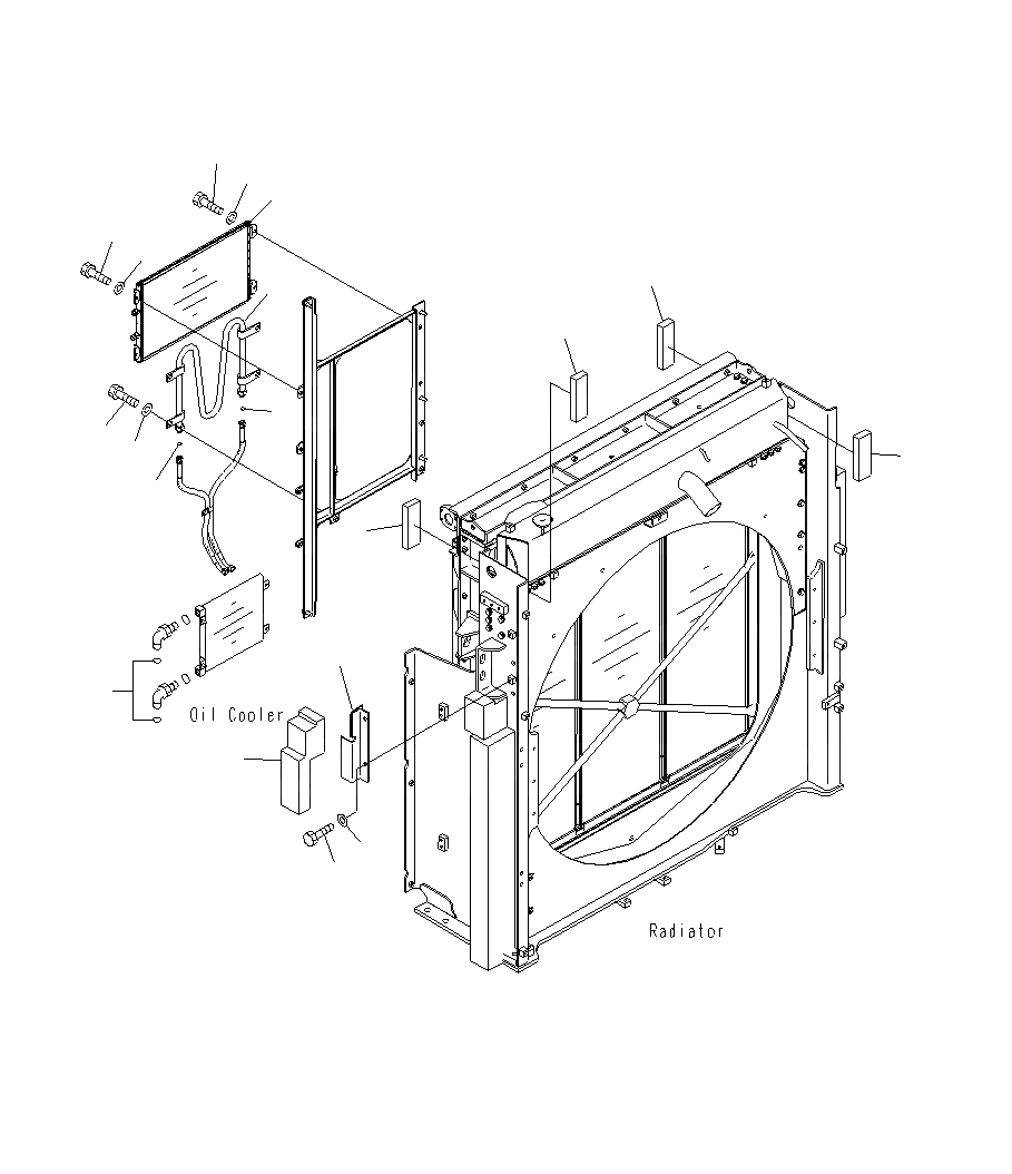
20Y-979-6131

CONDENSER ASS'Y

2

01010-80825

BOLT

|$3

01010-80820

BOLT

3

01643-30823

WASHER

4

01010-80835

BOLT

|$6

01010-80830

BOLT

5

01643-71032

WASHER

|$8

01643-30823

WASHER

6

21N-03-42810

SHEET

7

21N-64-36910

OIL COOLER

8

02896-21009

O-RING

9

01010-81230

BOLT

10

01643-31232

WASHER

11

02896-11015

O-RING

12

21N-03-42490

COVER

13

21N-03-42771

SHEET

14

01010-81225

BOLT

15

01643-31232

WASHER

Выбрано товаров: 18