Качественные детали и логистика
Оригинальные и аналоговые запчасти с доставкой по России, Казахстану и Беларуси
©2022 PartSell ООО "Система" ИНН 2463123282 ОГРН 1212400004838
Центральный офис: г. Красноярск, Академика Киренского, д.87, пом.4
Телефон: 8 (800) 777-65-74 Email: zakaz@partsell.ru
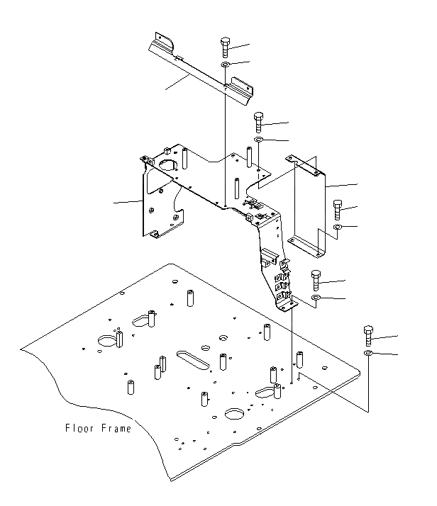
ОСНОВН. КОНСТРУКЦИЯ (ЗАДН. РАМА)
№
Артикул
Название
Примечание
Количество
1
20Y-54-65141
BRACKET
2
01010-81016
BOLT
3
01643-31032
WASHER
4
21N-53-32390
5
01010-81025
6
7
20Y-54-65151
8
01010-80820
9
113-43-23230
Выбрано товаров: 0