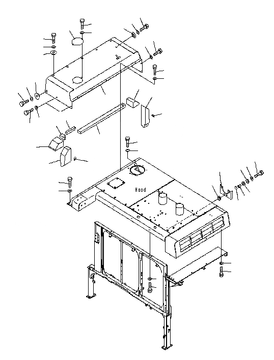
Запчасти Komatsu PC1250SP-8R КАПОТ (/) M

Схема запчастей Komatsu PC1250SP-8R - КАПОТ (/) M
19
8
20
22
12
23
15
20
21
21
20
24
19
19
20
19
21
20
17
19
18
10
14
11
20
19
13
8
16
9
2
14
3
6
1
8
4
9
4
5
7
9
8
9
FIT
1:1
100%

Артикул

Название

Примечание

Количество

1

21N-54-43310

PLATE

2

01010-81250

BOLT

3

01643-31232

WASHER

4

203-62-42770

CUSHION

5

21W-62-11620

SPACER

6

566-35-42430

PLATE

7

07000-13025

O-RING

8

01010-81230

BOLT

9

01643-31232

WASHER

10

21N-54-41131

COVER

11

21N-54-41150

SHEET

12

21N-54-41160

SHEET

13

21N-54-41171

SHEET

14

21N-54-41181

SHEET

15

21N-54-41761

SHEET

16

21N-54-41771

SHEET

17

21N-54-41781

SHEET

18

21N-54-41791

SHEET

19

01010-81230

BOLT

20

01643-31232

WASHER

21

203-54-62670

COLLAR

22

207-54-51440

PLATE

23

01010-81230

BOLT

24

01643-31232

WASHER

Выбрано товаров: 24