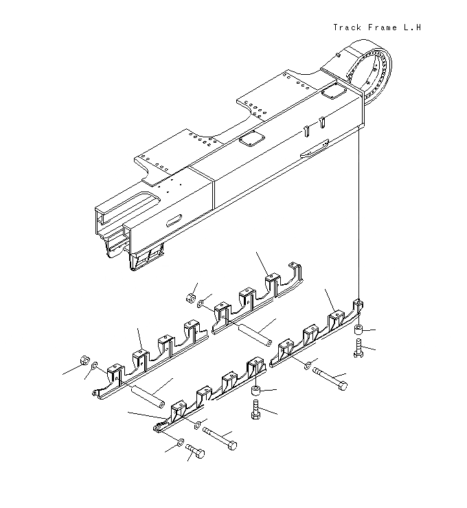
Запчасти Komatsu PC1250SP-8R ГУСЕНИЧНАЯ РАМА (ОПОРНЫЙ КАТОК ПОЛН. ЗАЩИТА)(L.H) R

Схема запчастей Komatsu PC1250SP-8R - ГУСЕНИЧНАЯ РАМА (ОПОРНЫЙ КАТОК ПОЛН. ЗАЩИТА)(L.H) R
12
17
11
18
15
2
14
18
13
16
7
9
4
10
1
10
3
8
6
5
FIT
1:1
100%

Артикул

Название

Примечание

Количество

1

21N-30-32251

GUARD

2

21N-30-32261

GUARD

3

01011-83010

BOLT

4

21T-26-11460

WASHER

5

01010-83075

BOLT

6

01643-33080

WASHER

7

21N-30-17640

SPACER

8

198-30-37320

BOLT

9

01580-13024

NUT

10

01643-33080

WASHER

11

21N-30-32271

GUARD, L.H

12

21N-30-32281

GUARD, R.H

13

01011-83010

BOLT

14

21T-26-11460

WASHER

15

21N-30-17640

SPACER

16

198-30-37320

BOLT

17

01580-13024

NUT

18

01643-33080

WASHER

Выбрано товаров: 18