Запчасти Komatsu PC128US-2-AT ОХЛАЖД-Е (ПОСЛЕОХЛАДИТЕЛЬ И КОЖУХ) СИСТЕМА ОХЛАЖДЕНИЯ

Схема запчастей Komatsu PC128US-2-AT - ОХЛАЖД-Е (ПОСЛЕОХЛАДИТЕЛЬ И КОЖУХ) СИСТЕМА ОХЛАЖДЕНИЯ
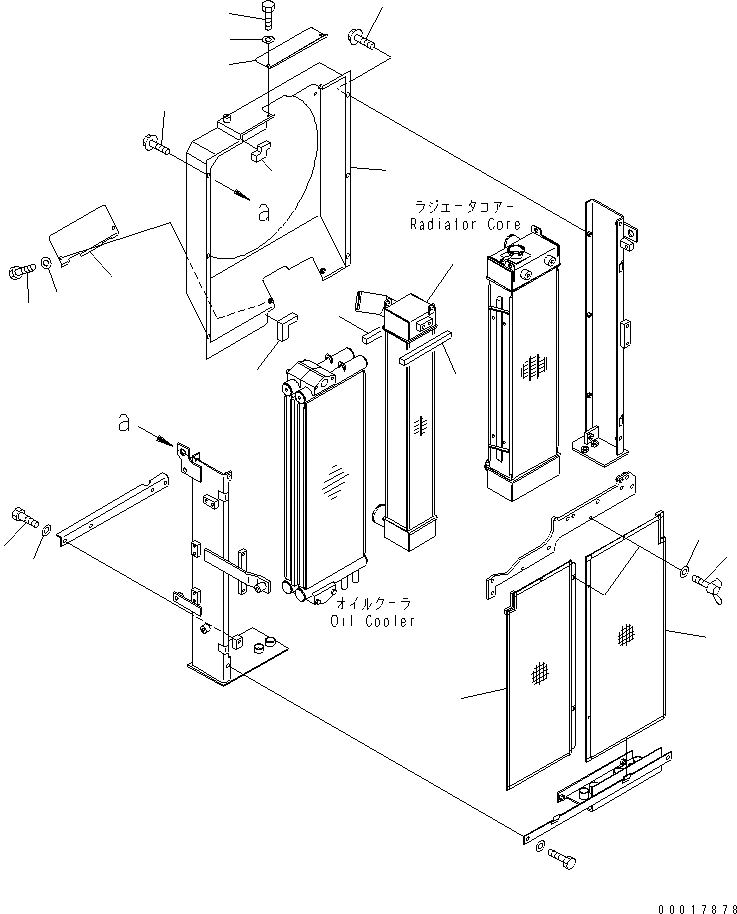
1
2
3
4
5
6
7
8
9
10
11
11
12
12
13
13
14
15
16
16
FIT
1:1
100%

Артикул

Название

Примечание

Количество

1

22B-03-13130

AFTER COOLER ASS'Y

2

01010-81025

BOLT

3

01643-31032

WASHER

4

22B-03-12251

NET

5

22B-03-12261

NET

6

01434-10620

BOLT¤ WING

7

01643-30623

WASHER

8

22B-03-13170

SHROUD

9

22B-03-13180

COVER

10

22B-03-12190

COVER

11

01010-80812

BOLT

12

01643-30823

WASHER

13

01435-20816

BOLT

14

22B-03-12550

SHEET

15

22B-03-12580

SHEET

16

22B-03-12430

SHEET

Выбрано товаров: 0