Запчасти Komatsu PC128US-2 КАБИНА (ОКНО В КРЫШЕ)(№-77) КАБИНА ОПЕРАТОРА И СИСТЕМА УПРАВЛЕНИЯ

Схема запчастей Komatsu PC128US-2 - КАБИНА (ОКНО В КРЫШЕ)(№-77) КАБИНА ОПЕРАТОРА И СИСТЕМА УПРАВЛЕНИЯ
1
2
3
4
5
6
7
8
9
10
11
11
12
12
13
14
15
16
17
18
19
FIT
1:1
100%

Артикул

Название

Примечание

Количество

|$13

22B-54-00022

CAB ASS'Y

|$14

22B-54-00020

CAB ASS'Y

|$15

22U-54-00132

CAB ASS'Y,(FOR U.S.A.)

|$16

22U-54-00130

CAB ASS'Y,(FOR U.S.A.)

|$17

22B-54-00032

CAB ASS'Y,(HALF GUARD)

|$18

22B-54-00030

CAB ASS'Y,(HALF GUARD)

|$19

22B-54-00182

CAB ASS'Y,(HALF GUARD) (FOR U.S.A.)

|$20

22B-54-00180

CAB ASS'Y,(HALF GUARD) (FOR U.S.A.)

|$21

22B-54-00042

CAB ASS'Y,(FULL GUARD)

|$22

22B-54-00040

CAB ASS'Y,(FULL GUARD)

|$23

22U-54-00142

CAB ASS'Y,(FULL GUARD) (FOR U.S.A.)

|$24

22U-54-00140

CAB ASS'Y,(FULL GUARD) (FOR U.S.A.)

|$25

22B-54-00062

CAB ASS'Y,(DOOR SASH)

|$26

22B-54-00060

CAB ASS'Y,(DOOR SASH)

|$27

22B-54-00192

CAB ASS'Y,(DOOR SASH) (FOR U.S.A.)

|$28

22B-54-00190

CAB ASS'Y,(DOOR SASH) (FOR U.S.A.)

|$29

22B-54-00072

CAB ASS'Y,(DOOR SASH AND HALF GUARD)

|$30

22B-54-00070

CAB ASS'Y,(DOOR SASH AND HALF GUARD)

|$31

22B-54-00212

CAB ASS'Y,(DOOR SASH AND HALF GUARD) USA

|$32

22B-54-00210

CAB ASS'Y,(DOOR SASH AND HALF GUARD) USA

|$33

22B-54-00082

CAB ASS'Y,(DOOR SASH AND FULL GUARD)

|$34

22B-54-00080

CAB ASS'Y,(DOOR SASH AND FULL GUARD)

|$35

22B-54-00222

CAB ASS'Y,(DOOR SASH AND FULL GUARD) USA

|$36

22B-54-00220

CAB ASS'Y,(DOOR SASH AND FULL GUARD) USA

|$37

22B-54-00322

CAB ASS'Y,(EXCEPT JAPAN)

|$38

22B-54-00320

CAB ASS'Y,(EXCEPT JAPAN)

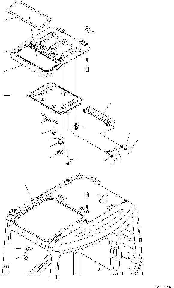
1

22B-54-14711

ROOF ASS'Y,OPEN

2

22B-54-14720

CLEAR PLATE

3

22B-54-14730

DAM

4

21J-54-16630

GRIP

5

01023-10612

SCREW

6

20Y-54-36351

LOCK ASS'Y

7

20Y-54-36360

COVER

8

22B-54-14260

SPACER

9

01435-00620

BOLT

10

20Y-54-36342

GAS SPRING ASS'Y

11

04052-10833

PIN

12

01643-30823

WASHER

13

22B-54-14771

LINING,ROOF

14

23D-950-4450

BUTTON

15

22B-54-14751

TRIM

16

22B-54-14761

STRIKER

17

01240-00816

SCREW

18

22B-54-14811

PLATE

19

01435-00814

BOLT

Выбрано товаров: 45