Запчасти Komatsu PC128UU-1 КАБИНА (ДВЕРЬ /) (/7) КАБИНА ОПЕРАТОРА И СИСТЕМА УПРАВЛЕНИЯ

Схема запчастей Komatsu PC128UU-1 - КАБИНА (ДВЕРЬ /) (/7) КАБИНА ОПЕРАТОРА И СИСТЕМА УПРАВЛЕНИЯ
1
2
3
4
5
6
7
8
9
10
11
12
13
14
15
16
17
18
19
19
20
20
21
21
21
21
22
22
22
22
23
23
23
23
24
24
24
24
25
25
26
FIT
1:1
100%

Артикул

Название

Примечание

Количество

|$5

21W-54-00057

CAB ASS'Y

|$6

21W-54-00056

CAB ASS'Y

|$7

21W-54-00055

CAB ASS'Y

|$8

21W-54-00054

CAB ASS'Y

|$9

21W-54-00053

CAB ASS'Y

|$10

21W-54-00076

CAB ASS'Y,(WITH FRONT GUARD)

|$11

21W-54-00075

CAB ASS'Y,(WITH FRONT GUARD)

|$12

21W-54-00074

CAB ASS'Y,(WITH FRONT GUARD)

|$13

21W-54-00073

CAB ASS'Y,(WITH FRONT GUARD)

|$14

21W-54-00072

CAB ASS'Y,(WITH FRONT GUARD)

|$15

21W-54-00091

CAB ASS'Y,(WITH HEAD GUARD)

|$16

21W-54-00090

CAB ASS'Y,(WITH HEAD GUARD)

|$$13

THESE ASSEMBLIES CONSIST OF ALL PARTS SHOWN IN FIGS.K0210-01A0 TO K0210-07A0.

|$18

20U-54-00065

DOOR ASS'Y

|$19

20U-54-00063

DOOR ASS'Y

|$20

20U-54-00062

DOOR ASS'Y

|$$17

THESE ASSEMBLISE CONSIST OF ALL PARTS SHOWN IN FIGS.K0210-04A0 AND K0210-05A0.

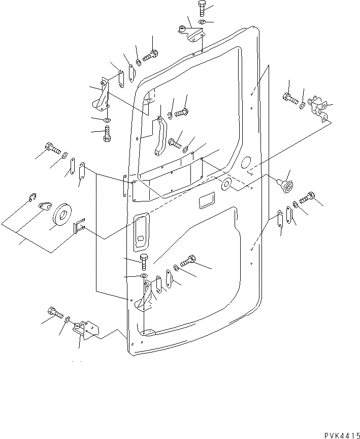
1

21W-54-34460

COVER

1

20U-54-24461

COVER

2

21W-54-34480

PACKING,VINYL

2

20U-54-25490

COVER,VINYL

3

01220-70612

SCREW

4

01643-70623

WASHER

5

20U-54-25920

GRIP

5

20N-54-39980

GRIP

6

01220-40512

SCREW

7

01601-20513

WASHER

8

20U-54-24911

ROLLER ASS'Y,UPPER

9

01010-80816

BOLT

10

01643-30823

WASHER

11

20U-54-24922

ROLLER ASS'Y,CENTER

11

20U-54-24921

ROLLER ASS'Y,CENTER

12

01010-80816

BOLT

13

01643-30823

WASHER

14

20U-54-24933

ROLLER ASS'Y,LOWER

14

20U-54-24932

ROLLER ASS'Y,LOWER

14

20U-54-24931

ROLLER ASS'Y,LOWER

15

01010-80816

BOLT

16

01643-30823

WASHER

17

20U-54-25261

BRACKET

17

20U-54-25260

BRACKET

18

20U-54-25271

BRACKET

18

20U-54-25270

BRACKET

19

01010-D1225

BOLT

19

01010-30816

BOLT

20

01643-71232

WASHER

20

01643-70823

WASHER

21

20U-54-25321

STRIKER

22

01010-80610

BOLT

23

01641-50608

WASHER

24

20U-54-25341

SHIM, 1.0MM

25

205-54-71642

LOCK ASS'Y

26

21W-54-34490

PACKING, 8.0MM

Выбрано товаров: 53