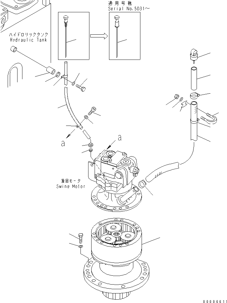
Запчасти Komatsu PC128UU-2 МЕХАНИЗМ ПОВОРОТА(№-9) ПОВОРОТН. КРУГ И КОМПОНЕНТЫ

Схема запчастей Komatsu PC128UU-2 - МЕХАНИЗМ ПОВОРОТА(№-9) ПОВОРОТН. КРУГ И КОМПОНЕНТЫ
1
2
3
4
4
5
6
7
8
9
10
10
10
11
11
12
13
14
15
16
17
18
19
20
21
22
FIT
1:1
100%

Артикул

Название

Примечание

Количество

1

21Y-26-01000

SWING MACHINERY A.

2

01010-81655

BOLT

3

01643-31645

WASHER

4

07283-22738

CLIP

5

01582-11008

NUT

6

01643-31032

WASHER

7

20T-26-71330

CAP

8

22B-26-11230

FILLER

9

07286-02670

HOSE

10

07289-00035

CLAMP

11

22B-26-11310

GAUGE

11

22B-26-11240

GAUGE

12

22B-26-11251

TUBE

12

22B-26-11250

TUBE

13

6150-21-5930

NUT

14

6150-21-5920

COLLAR

15

04434-51312

CLIP

16

01010-81220

BOLT

17

01643-31232

WASHER

18

07095-20213

CUSHION

19

04434-51912

CLIP

20

20Y-03-11220

COLLAR

21

01010-81255

BOLT

22

01643-31232

WASHER

Выбрано товаров: 0