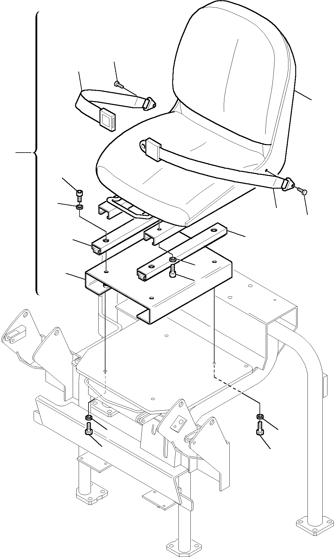
Запчасти Komatsu PC12R-8 СИДЕНЬЕ ОПЕРАТОРА ЧАСТИ КОРПУСА И КАБИНА

Схема запчастей Komatsu PC12R-8 - СИДЕНЬЕ ОПЕРАТОРА ЧАСТИ КОРПУСА И КАБИНА
4
3
2
1
6
7
3
4
5
5
9
10
8
12
12
11
13
FIT
1:1
100%

Артикул

Название

Примечание

Количество

1

816100056

OPERATOR'S SEAT, ASSY.

2

816100054

OPERATOR'S SEAT

3

816210421

SEAT BELT

4

BOLT

5

816101143

KIT, DRIVING SET

6

801015084

BOLT

7

802170001

WASHER

8

801105531

SCREW

9

802170001

WASHER

10

3F0550064

OPERATOR'S SEAT STAND

11

801015084

BOLT

11

801015084

BOLT

12

802170001

WASHER

13

801015086

BOLT

Выбрано товаров: 14