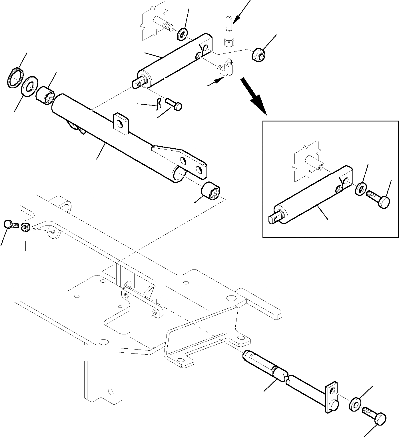
Запчасти Komatsu PC12R-8 СЕРВОУПРАВЛ. БЛОКИР. СИСТЕМА СИСТЕМА УПРАВЛЕНИЯ И ОСНОВНАЯ РАМА

Схема запчастей Komatsu PC12R-8 - СЕРВОУПРАВЛ. БЛОКИР. СИСТЕМА СИСТЕМА УПРАВЛЕНИЯ И ОСНОВНАЯ РАМА
A
A
3
2
13
1
7
5
14
4
3
6
2
7
1
11
12
10
8
9
FIT
1:1
100%

Артикул

Название

Примечание

Количество

1

3F0572050

CYLINDER, ASSY.

2

801852210

NUT

2

3F0572614

SCREW

3

802170002

WASHER

3

802170001

WASHER

4

500611698

PIN

5

802610026

PIN, COTTER

6

3F0572057

LEVER

7

805820123

BEARING

8

3F0572058

PIN

9

801015084

BOLT

10

802170001

WASHER

11

801015067

BOLT

12

801920103

NUT

13

802250016

RING, SNAP

14

390617009

SPACER

Выбрано товаров: 16