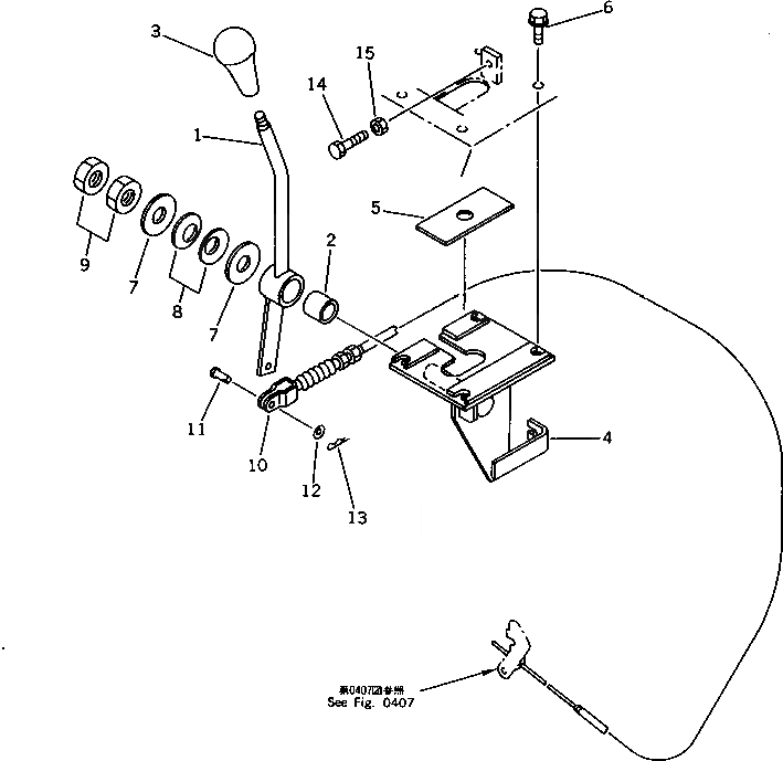
Запчасти Komatsu PC12UU-1 РЫЧАГ УПРАВЛ-Я ПОДАЧЕЙ ТОПЛИВА СИСТЕМА УПРАВЛЕНИЯ И ОСНОВНАЯ РАМА

Схема запчастей Komatsu PC12UU-1 - РЫЧАГ УПРАВЛ-Я ПОДАЧЕЙ ТОПЛИВА СИСТЕМА УПРАВЛЕНИЯ И ОСНОВНАЯ РАМА
FIT
1:1
100%

Артикул

Название

Примечание

Количество

1

20C-43-14130

LEVER

2

09350-02025

BUSHING

3

113-43-23420

KNOB

4

20C-43-14110

BRACKET

5

20C-43-14150

PLATE

6

01435-00825

BOLT

7

FF8733-44530

WASHER

8

101-854-9355

SPRING

9

01583-11610

NUT

10

20C-43-14140

WIRE

11

04205-10616

PIN

12

04052-00633

PIN,SNAP

13

01640-20610

WASHER

14

01016-50840

BOLT

15

01580-10806

NUT

Выбрано товаров: 15