Запчасти Komatsu PC12UU-1 СТРЕЛА И КОВШ МЕХ-М УПРАВЛ-Я СИСТЕМА УПРАВЛЕНИЯ И ОСНОВНАЯ РАМА

Схема запчастей Komatsu PC12UU-1 - СТРЕЛА И КОВШ МЕХ-М УПРАВЛ-Я СИСТЕМА УПРАВЛЕНИЯ И ОСНОВНАЯ РАМА
FIT
1:1
100%

Артикул

Название

Примечание

Количество

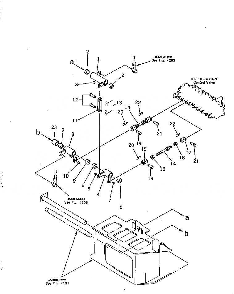
1

20C-43-11520

LEVER

2

195-61-34140

BEARING

3

06600-00805

BUSHING

4

20C-43-11540

LEVER

5

195-61-34140

BEARING

6

06600-00805

BUSHING

7

06600-00805

BUSHING

8

20C-43-11531

LEVER

9

195-61-34140

BEARING

10

06600-00805

BUSHING

11

20N-43-42591

YOKE

12

04205-10822

PIN

13

04050-12015

PIN,COTTER

14

04248-30814

ROD

15

04221-20844

YOKE

16

01508-20805

NUT,L.H. THREAD

17

20C-43-11320

YOKE,L.H. THREAD

18

01508-10806

NUT¤ L.H. THREAD,L.H. THREAD

19

04205-10822

PIN

20

04050-11208

PIN,COTTER

21

04205-10520

PIN

22

04050-12015

PIN,COTTER

23

20C-43-11550

COLLAR

Выбрано товаров: 23